Промышленная Сибирь Ярмарка Сибири Промышленность СФО Электронные торги НОУ-ХАУ Электронные магазины Карта сайта
 
 

Поиск патентов

Как искать?
Реферат
Название
Публикация
Регистрационный номер
Имя заявителя
Имя изобретателя
Имя патентообладателя

    





Оформить заказ и задать интересующие Вас вопросы Вы можете напрямую c 6-00 до 14-30 по московскому времени кроме сб, вс. whatsapp 8-950-950-9888

На данной странице представлена ознакомительная часть выбранного Вами патента

Для получения более подробной информации о патенте (полное описание, формула изобретения и т.д.) Вам необходимо сделать заказ. Нажмите на «Корзину»


УСТРОЙСТВО ТЕСТИРОВАНИЯ КОНСТРУКЦИИ ФЮЗЕЛЯЖА С ПРОДОЛЬНОЙ И ОКРУЖНОЙ КРИВИЗНОЙ

Номер публикации патента: 2415393

Вид документа: C2 
Страна публикации: RU 
Рег. номер заявки: 2008106911/28 
  Сделать заказПолучить полное описание патента

Редакция МПК: 
Основные коды МПК: G01M007/04   G01M005/00   G01N003/08    
Аналоги изобретения: DE 717836 С, 24.02.1942. СН 254842 А, 31.05.1948. DE 29711362 U1, 02.01.1998. RU 2108267 C1, 10.04.1998. GB 2267470 A, 08.12.1993. 

Имя заявителя: ЭРБЮС ФРАНС (FR) 
Изобретатели: САВ-СЕН-ЖЕРМ Сирилль (FR)
ДЕКРАКЕР Патрик (FR)
МИНЬОН Оливье (FR)
ЛАНВЕР Бенуа (FR) 
Патентообладатели: ЭРБЮС ФРАНС (FR) 
Приоритетные данные: 26.07.2005 FR 0507957 

Реферат


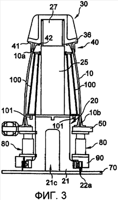
Изобретение относится к устройству тестирования венца (10) фюзеляжа, например, летательного аппарата с продольной и окружной кривизной, содержащему набор средств (80) приложения сил к венцу фюзеляжа. Оно содержит центральный жесткий вал (20), расположенный в продольном направлении и в центре венца (10) фюзеляжа и выполненный с возможностью неподвижного соединения с венцом (10) фюзеляжа. Набор средств приложения сил установлен между венцом фюзеляжа и опорными средствами (70, 90), неподвижно соединенными с центральным жестким валом (20). Технический результат - создание устройства тестирования конструкции фюзеляжа с продольной и окружной кривизной. 10 з.п. ф-лы, 12 ил.

Дирекция сайта "Промышленная Сибирь"
Россия, г.Омск, ул.Учебная, 199-Б, к.408А
Сайт открыт 01.11.2000
© 2000-2018 Промышленная Сибирь
Разработка дизайна сайта:
Дизайн-студия "RayStudio"