Промышленная Сибирь Ярмарка Сибири Промышленность СФО Электронные торги НОУ-ХАУ Электронные магазины Карта сайта
 
 

Поиск патентов

Как искать?
Реферат
Название
Публикация
Регистрационный номер
Имя заявителя
Имя изобретателя
Имя патентообладателя

    





Оформить заказ и задать интересующие Вас вопросы Вы можете напрямую c 6-00 до 14-30 по московскому времени кроме сб, вс. whatsapp 8-950-950-9888

На данной странице представлена ознакомительная часть выбранного Вами патента

Для получения более подробной информации о патенте (полное описание, формула изобретения и т.д.) Вам необходимо сделать заказ. Нажмите на «Корзину»


УСТРОЙСТВО КОНТРОЛЯ ГАЗА В ЖИДКОМЕТАЛЛИЧЕСКОМ ТЕПЛОНОСИТЕЛЕ

Номер публикации патента: 2426111

Вид документа: C1 
Страна публикации: RU 
Рег. номер заявки: 2010103142/28 
  Сделать заказПолучить полное описание патента

Редакция МПК: 
Основные коды МПК: G01N027/74   G01M003/16   G01F001/32    
Аналоги изобретения: SU 815542 А, 25.03.1981. US 4144741 А, 20.03.1979. GB 980127 A, 13.01.1965. SU 868537 А, 30.09.1981. 

Имя заявителя: Федеральное государственное унитарное предприятие "Научно-исследовательский институт Научно-производственное объединение "ЛУЧ" (ФГУП "НИИ НПО "ЛУЧ") (RU) 
Изобретатели: Лешков Владимир Васильевич (RU)
Таранин Владимир Дмитриевич (RU)
Школяренко Виктор Васильевич (RU) 
Патентообладатели: Федеральное государственное унитарное предприятие "Научно-исследовательский институт Научно-производственное объединение "ЛУЧ" (ФГУП "НИИ НПО "ЛУЧ") (RU) 

Реферат


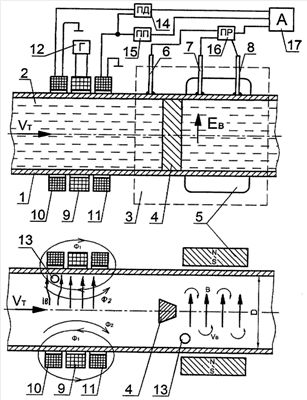
Изобретение относится к области диагностики энергетических установок и может использоваться преимущественно в атомной энергетике для контроля герметичности парогенераторов, в которых греющим теплоносителем является жидкий металл (натрий, свинец, свинец-висмут), передающий тепло воде и водяному пару через поверхность теплообмена. Устройство содержит трубчатый корпус, внутри которого движется контролируемая среда, вихревой расходомер, анализатор спектра сигнала расхода, а также индуктивный индикатор газовых пузырьков в контролируемом потоке, состоящий из обмотки возбуждения, питаемой переменным током, и измерительной обмотки, подключенной к преобразователям сигналов. Обмотка возбуждения выполнена в виде проходной катушки, закрепленной на трубопроводе перед расходомером, измерительная обмотка выполнена в виде двух одинаковых, встречно включенных проходных катушек, расположенных на корпусе на одинаковых расстояниях от обмотки возбуждения по разные стороны от нее. Технический результат - возможность надежно контролировать нарушение герметичности парогенератора и динамику развития течи для оперативной оценки состояния оборудования и принятия решения о его отключении. 1 ил.

Дирекция сайта "Промышленная Сибирь"
Россия, г.Омск, ул.Учебная, 199-Б, к.408А
Сайт открыт 01.11.2000
© 2000-2018 Промышленная Сибирь
Разработка дизайна сайта:
Дизайн-студия "RayStudio"