Промышленная Сибирь Ярмарка Сибири Промышленность СФО Электронные торги НОУ-ХАУ Электронные магазины Карта сайта
 
 

Поиск патентов

Как искать?
Реферат
Название
Публикация
Регистрационный номер
Имя заявителя
Имя изобретателя
Имя патентообладателя

    





Оформить заказ и задать интересующие Вас вопросы Вы можете напрямую c 6-00 до 14-30 по московскому времени кроме сб, вс. whatsapp 8-950-950-9888

На данной странице представлена ознакомительная часть выбранного Вами патента

Для получения более подробной информации о патенте (полное описание, формула изобретения и т.д.) Вам необходимо сделать заказ. Нажмите на «Корзину»


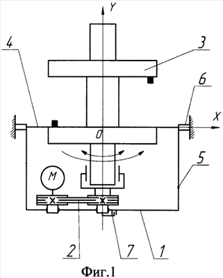
СПОСОБ ДИНАМИЧЕСКОЙ БАЛАНСИРОВКИ РОТОРА

Номер публикации патента: 2382999

Вид документа: C1 
Страна публикации: RU 
Рег. номер заявки: 2008138835/28 
  Сделать заказПолучить полное описание патента

Редакция МПК: 
Основные коды МПК: G01M001/16    
Аналоги изобретения: SU 712708 А1, 30.01.1980. SU 808890 А1, 28.02.1981. SU 896434 A1, 07.01.1982. RU 2039959 C1, 20.07.1995. US 5359885 A, 01.11.1994. 

Имя заявителя: Государственное образовательное учреждение высшего профессионального образования "Пензенский государственный университет" (ПГУ) (RU) 
Изобретатели: Трилисский Владимир Овсеевич (RU)
Кожевников Вячеслав Владимирович (RU)
Кочкин Сергей Вячеславович (RU) 
Патентообладатели: Государственное образовательное учреждение высшего профессионального образования "Пензенский государственный университет" (ПГУ) (RU) 

Реферат


Изобретение относится к балансировочной технике и может быть использовано для определения и коррекции дисбаланса жестких роторов. Способ заключается в том, что установленный вертикально неуравновешенный ротор, находящийся в режиме угловых колебаний, одновременно совершает равномерный поворот вокруг собственной оси на угол не более max=181° до момента появления максимального значения амплитуды колебаний относительно горизонтальной оси, возникающих от неуравновешенных сил инерции. При этом первоначально одна из плоскостей приведения совмещена с горизонтальной осью, относительно которой происходят колебания, возникающие от действия тангенциальных составляющих неуравновешенных сил инерции. Такое расположение ротора исключит влияние неуравновешенности этой плоскости на результат измерения этого этапа. После определения и устранения неуравновешенности в этой плоскости ротор перемещается в осевом направлении на фиксированное расстояние и измерения повторяются. Технический результат заключается в повышении точности измерения параметров неуравновешенности ротора, расширении области применения способа. 1 з.п. ф-лы, 3 ил.

Дирекция сайта "Промышленная Сибирь"
Россия, г.Омск, ул.Учебная, 199-Б, к.408А
Сайт открыт 01.11.2000
© 2000-2018 Промышленная Сибирь
Разработка дизайна сайта:
Дизайн-студия "RayStudio"