Промышленная Сибирь Ярмарка Сибири Промышленность СФО Электронные торги НОУ-ХАУ Электронные магазины Карта сайта
 
 

Поиск патентов

Как искать?
Реферат
Название
Публикация
Регистрационный номер
Имя заявителя
Имя изобретателя
Имя патентообладателя

    





Оформить заказ и задать интересующие Вас вопросы Вы можете напрямую c 6-00 до 14-30 по московскому времени кроме сб, вс. whatsapp 8-950-950-9888

На данной странице представлена ознакомительная часть выбранного Вами патента

Для получения более подробной информации о патенте (полное описание, формула изобретения и т.д.) Вам необходимо сделать заказ. Нажмите на «Корзину»


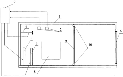
ИСПЫТАТЕЛЬНАЯ КАМЕРА

Номер публикации патента: 2399902

Вид документа: C1 
Страна публикации: RU 
Рег. номер заявки: 2009122429/28 
  Сделать заказПолучить полное описание патента

Редакция МПК: 
Основные коды МПК: G01M019/00   G01N025/00    
Аналоги изобретения: JP 2008145381 А, 26.06.2008. RU 2001109181 А, 20.03.2004. SU 1677460 А1, 15.09.1991. SU 612166 А1, 25.06.1978. SU 209473 А1, 26.01.1968. 

Имя заявителя: Федеральное государственное унитарное предприятие Ордена Трудового Красного Знамени Научно-исследовательский институт радио (RU) 
Изобретатели: Силенков Сергей Николаевич (RU)
Силенкова Татьяна Геннадьевна (RU) 
Патентообладатели: Федеральное государственное унитарное предприятие Ордена Трудового Красного Знамени Научно-исследовательский институт радио (RU) 

Реферат


Изобретение относится к испытательной технике и может быть использовано для проведения климатических испытаний различных, в частности радиотехнических изделий. Камера содержит корпус, в котором расположены датчики параметров испытуемого объекта, дверь для загрузки испытуемого объекта, систему охлаждения, систему нагревания и вентилятор. При этом выходы датчиков параметров испытуемого объекта соединены со входами блока управления, выходы которого соединены с управляющими входами системы охлаждения, системы нагревания и вентилятора. Свободное пространство камеры разделено термоотражающей теплоизолирующей перегородкой с возможностью перемещения, и имеющей разъемное уплотнение по всему периметру между перегородкой и камерой. Технический результат заключается в ускорении проведения испытаний. 1 ил.

Дирекция сайта "Промышленная Сибирь"
Россия, г.Омск, ул.Учебная, 199-Б, к.408А
Сайт открыт 01.11.2000
© 2000-2018 Промышленная Сибирь
Разработка дизайна сайта:
Дизайн-студия "RayStudio"