Промышленная Сибирь Ярмарка Сибири Промышленность СФО Электронные торги НОУ-ХАУ Электронные магазины Карта сайта
 
 

Поиск патентов

Как искать?
Реферат
Название
Публикация
Регистрационный номер
Имя заявителя
Имя изобретателя
Имя патентообладателя

    





Оформить заказ и задать интересующие Вас вопросы Вы можете напрямую c 6-00 до 14-30 по московскому времени кроме сб, вс. whatsapp 8-950-950-9888

На данной странице представлена ознакомительная часть выбранного Вами патента

Для получения более подробной информации о патенте (полное описание, формула изобретения и т.д.) Вам необходимо сделать заказ. Нажмите на «Корзину»


ВОЛОКОННО - ОПТИЧЕСКОЕ УСТРОЙСТВО ДЛЯ ИЗМЕРЕНИЯ ТЕМПЕРАТУРНОГО РАСПРЕДЕЛЕНИЯ (ВАРИАНТЫ)

Номер публикации патента: 2413188

Вид документа: C2 
Страна публикации: RU 
Рег. номер заявки: 2009113245/28 
  Сделать заказПолучить полное описание патента

Редакция МПК: 
Основные коды МПК: G01K011/32   G02B006/43    
Аналоги изобретения: RU 65223 U1, 27.07.2007. RU 2221225 C1, 10.01.2004. GB 2140554 A1, 28.11.1984. US 5825804 A1, 20.10.1998. 

Имя заявителя: Общество с ограниченной ответственностью "СибСенсор" (RU) 
Изобретатели: Кузнецов Алексей Геннадьевич (RU)
Шелемба Иван Сергеевич (RU)
Никулин Максим Александрович (RU)
Бабин Сергей Алексеевич (RU) 
Патентообладатели: Общество с ограниченной ответственностью "СибСенсор" (RU) 

Реферат


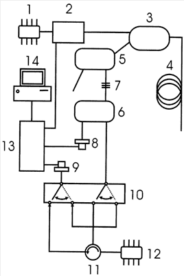
Изобретение относится к средствам измерения температурного распределения в протяженных объектах. Устройство содержит импульсный источник зондирующего излучения, направленный оптический ответвитель, чувствительный элемент, систему регистрации и узел обработки сигналов. Чувствительный элемент выполнен в виде одномодового оптического волокна. Направленный оптический ответвитель отделяет рэлеевскую компоненту и подключен последовательно к одному или более дополнительному направленному оптическому ответвителю, также отделяющему рэлеевскую компоненту. Дополнительный направленный оптический ответвитель соединен последовательно с одним или более направленным оптическим ответвителем, разделяющим стоксову и антистоксову компоненты рассеянного излучения. Компоненты излучения направляются на фотоприемные модули системы регистрации. Вариантом является устройство, в которое дополнительно введен коммутатор, соединенный с входом одного из фотоприемных модулей. При этом импульсный полупроводниковый лазер работает на длине волны антистоксовой компоненты и соединен с одним из входов циркулятора. Технический результат - высокая точность измерения температурного распределения при значительной длине чувствительного элемента. 2 н. и 10 з.п. ф-лы, 1 ил.

Дирекция сайта "Промышленная Сибирь"
Россия, г.Омск, ул.Учебная, 199-Б, к.408А
Сайт открыт 01.11.2000
© 2000-2018 Промышленная Сибирь
Разработка дизайна сайта:
Дизайн-студия "RayStudio"