Промышленная Сибирь Ярмарка Сибири Промышленность СФО Электронные торги НОУ-ХАУ Электронные магазины Карта сайта
 
 

Поиск патентов

Как искать?
Реферат
Название
Публикация
Регистрационный номер
Имя заявителя
Имя изобретателя
Имя патентообладателя

    





Оформить заказ и задать интересующие Вас вопросы Вы можете напрямую c 6-00 до 14-30 по московскому времени кроме сб, вс. whatsapp 8-950-950-9888

На данной странице представлена ознакомительная часть выбранного Вами патента

Для получения более подробной информации о патенте (полное описание, формула изобретения и т.д.) Вам необходимо сделать заказ. Нажмите на «Корзину»


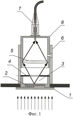
ДЕТЕКТОР СВЕТОВОГО ИЗЛУЧЕНИЯ

Номер публикации патента: 2454638

Вид документа: C1 
Страна публикации: RU 
Рег. номер заявки: 2010151690/28 
  Сделать заказПолучить полное описание патента

Редакция МПК: 
Основные коды МПК: G01K001/08    
Аналоги изобретения: Применение фотоэлектрической методики для регистрации многоволновых конфигураций в плоских преградах. Материалы VIII Забабахинских научных чтений (5-9 сентября 2005 г.) - Снежинок: Издательство РФЯЦ - ВНИИТФ, 2005, Секция 5, с.1-8. RU 2008147913 А, 10.06.2010. US 7682071 В2, 23.03.2010. US 7303331 В2, 04.12.2007. 

Имя заявителя: Федеральное государственное унитарное предприятие "Всероссийский научно-исследовательский институт автоматики им. Н.Л. Духова" (ФГУП "ВНИИА") (RU) 
Изобретатели: Богомолов Владимир Игоревич (RU) 
Патентообладатели: Федеральное государственное унитарное предприятие "Всероссийский научно-исследовательский институт автоматики им. Н.Л. Духова" (ФГУП "ВНИИА") (RU) 

Реферат


Изобретение относится к детектированию температуры теплового излучения фронта ударной волны и может быть использовано для изучения быстропротекающих процессов при изучении конденсированных материалов и свойств взрывчатых веществ. В цилиндрическом корпусе устройства содержится индикаторная жидкость или индикаторные стекла. Цилиндрический корпус состоит из верхней и нижней частей, установленных с возможностью взаимного вертикального перемещения или выполненных в виде единой конструкции. На верхнем торце корпуса в фокусе линзы содержится оптический разъем световода. С другой стороны линзы на расстоянии одного фокуса закреплен стакан для образца и индикаторная жидкость или индикаторное стекло. Технический результат - возможность регистрации температуры по энергетической яркости свечения индикатора. 1 з.п. ф-лы, 2 ил.

Дирекция сайта "Промышленная Сибирь"
Россия, г.Омск, ул.Учебная, 199-Б, к.408А
Сайт открыт 01.11.2000
© 2000-2018 Промышленная Сибирь
Разработка дизайна сайта:
Дизайн-студия "RayStudio"