Промышленная Сибирь Ярмарка Сибири Промышленность СФО Электронные торги НОУ-ХАУ Электронные магазины Карта сайта
 
 

Поиск патентов

Как искать?
Реферат
Название
Публикация
Регистрационный номер
Имя заявителя
Имя изобретателя
Имя патентообладателя

    





Оформить заказ и задать интересующие Вас вопросы Вы можете напрямую c 6-00 до 14-30 по московскому времени кроме сб, вс. whatsapp 8-950-950-9888

На данной странице представлена ознакомительная часть выбранного Вами патента

Для получения более подробной информации о патенте (полное описание, формула изобретения и т.д.) Вам необходимо сделать заказ. Нажмите на «Корзину»


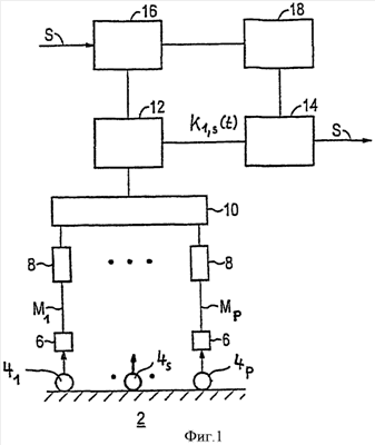
СПОСОБ И УСТРОЙСТВО ДЛЯ ВЫЯВЛЕНИЯ МЕСТА ИМПУЛЬСНОГО МЕХАНИЧЕСКОГО ВОЗДЕЙСТВИЯ НА ЭЛЕМЕНТ ОБОРУДОВАНИЯ

Номер публикации патента: 2390736

Вид документа: C2 
Страна публикации: RU 
Рег. номер заявки: 2008131959/28 
  Сделать заказПолучить полное описание патента

Редакция МПК: 
Основные коды МПК: G01H001/00    
Аналоги изобретения: RU 1730917 С, 15.12.1994. SU 1255913 A1, 07.09.1986. WO 03071243 A1, 28.08.2003. DE 2223321 A1, 03.01.1974. WO 2004040246 A1, 13.05.2004. 

Имя заявителя: АРЕВА НП ГМБХ (DE) 
Изобретатели: БЕХТОЛЬД Бела (DE)
ЯКС Петер (DE)
ОЦЕЛИК Войтех (DE)
ДЗАХ Ян (DE) 
Патентообладатели: АРЕВА НП ГМБХ (DE) 
Приоритетные данные: 03.02.2006 DE 102006004941.1 

Реферат


В способе и устройстве для выявления места импульсного механического воздействия на элемент (2) оборудования непрерывно регистрируется присутствующий в этом элементе (2) рабочий шум с помощью множества установленных на элементе (2) оборудования датчиков (4s), которыми он преобразуется в измерительный сигнал (М), подвергаемый в первых временных окнах (t1) преобразованию. На основе множества полученных при этом первых трансформант выводят первую оценочную функцию (K1,s) указывающую на присутствие импульсного механического воздействия на элемент (2) оборудования. Согласно изобретению при обнаружении воздействия во вторых, более коротких временных окнах (t2) с использованием тех же алгоритмов выводят соответственно вторые трансформанты и вторые оценочные функции (К2,s), на основе которых определяют момент времени (ts), в который образованный в результате воздействия звуковой сигнал поступает на датчик (4s). На основе разницы времен задержки датчиков (4s) точно определяют воздействия. Техническим результатом изобретения является повышение точности определения места воздействия. 2 н. и 13 з.п. ф-лы, 9 ил.

Дирекция сайта "Промышленная Сибирь"
Россия, г.Омск, ул.Учебная, 199-Б, к.408А
Сайт открыт 01.11.2000
© 2000-2018 Промышленная Сибирь
Разработка дизайна сайта:
Дизайн-студия "RayStudio"