Промышленная Сибирь Ярмарка Сибири Промышленность СФО Электронные торги НОУ-ХАУ Электронные магазины Карта сайта
 
 

Поиск патентов

Как искать?
Реферат
Название
Публикация
Регистрационный номер
Имя заявителя
Имя изобретателя
Имя патентообладателя

    





Оформить заказ и задать интересующие Вас вопросы Вы можете напрямую c 6-00 до 14-30 по московскому времени кроме сб, вс. whatsapp 8-950-950-9888

На данной странице представлена ознакомительная часть выбранного Вами патента

Для получения более подробной информации о патенте (полное описание, формула изобретения и т.д.) Вам необходимо сделать заказ. Нажмите на «Корзину»


СИГНАЛИЗАТОР ДЛЯ ДАТЧИКА УРОВНЯ ТОПЛИВА

Номер публикации патента: 2430337

Вид документа: C2 
Страна публикации: RU 
Рег. номер заявки: 2009144982/28 
  Сделать заказПолучить полное описание патента

Редакция МПК: 
Основные коды МПК: G01F023/36    
Аналоги изобретения: US 20040255669 А1, 23.12.2004. US 6127916 А, 03.10.2000. DE 19709738 А1, 17.09.1998. DE 19842243 А1, 06.04.2000. 

Имя заявителя: КОНТИНЕНТАЛЬ АУТОМОТИВЕ ГМБХ (DE) 
Изобретатели: БЕННЕР Ханс-Гюнтер (DE)
ПАУЭР Бернд (DE) 
Патентообладатели: КОНТИНЕНТАЛЬ АУТОМОТИВЕ ГМБХ (DE) 
Приоритетные данные: 04.05.2007 DE 102007021027.4 

Реферат


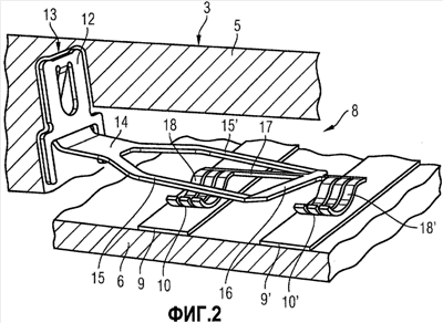
Изобретение относится к сигнализатору для датчика уровня топлива в топливном баке грузового автомобиля. Сущность: сигнализатор (8) для датчика уровня топлива имеет два скользящих контакта (10, 10), изготовленных за одно целое с держателем (12) и упругими элементами (15, 15). Это позволяет минимизировать затраты на изготовление сигнализатора (8). Скользящие контакты (10, 10) расположены на упругих язычках (18, 18) и соединены друг с другом через мостик (17). Таким образом, расположенные в ряд упругие язычки (18, 18) и упругие элементы (15, 15) обеспечивают равномерное предварительное напряжение скользящих контактов (10, 10) в направлении к дорожкам скольжения сигнализатора (8). Технический результат: усовершенствование сигнализатора и упрощение его изготовления. 7 з.п. ф-лы, 2 ил.

Дирекция сайта "Промышленная Сибирь"
Россия, г.Омск, ул.Учебная, 199-Б, к.408А
Сайт открыт 01.11.2000
© 2000-2018 Промышленная Сибирь
Разработка дизайна сайта:
Дизайн-студия "RayStudio"