Промышленная Сибирь Ярмарка Сибири Промышленность СФО Электронные торги НОУ-ХАУ Электронные магазины Карта сайта
 
 

Поиск патентов

Как искать?
Реферат
Название
Публикация
Регистрационный номер
Имя заявителя
Имя изобретателя
Имя патентообладателя

    





Оформить заказ и задать интересующие Вас вопросы Вы можете напрямую c 6-00 до 14-30 по московскому времени кроме сб, вс. whatsapp 8-950-950-9888

На данной странице представлена ознакомительная часть выбранного Вами патента

Для получения более подробной информации о патенте (полное описание, формула изобретения и т.д.) Вам необходимо сделать заказ. Нажмите на «Корзину»


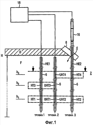
ИЗМЕРИТЕЛЬ УРОВНЯ

Номер публикации патента: 2424494

Вид документа: C2 
Страна публикации: RU 
Рег. номер заявки: 2008152094/28 
  Сделать заказПолучить полное описание патента

Редакция МПК: 
Основные коды МПК: G01F023/22    
Аналоги изобретения: US 4449403 А, 22.05.1984. US 4785665 А, 22.11.1988. US 5600528 А, 04.02.1997. DE 19714534 А1, 14.05.1998. 

Имя заявителя: АРЕФА НП ГмбХ (DE) 
Изобретатели: КЕРХЕР Заха (DE)
ФОГТ Вольфганг (DE)
ХАРФСТ Вилфрид (DE) 
Патентообладатели: АРЕФА НП ГмбХ (DE) 
Приоритетные данные: 29.05.2006 DE 102006025220.9 

Реферат


Изобретение относится к измерителю уровня в резервуаре с жидкостью и может быть использовано в корпусе ядерного реактора ядерной установки. Сущность: в измерителе (2) уровня в резервуаре с жидкостью, в частности в корпусе (4) реактора ядерной установки, основанном на использовании нагреваемых термоэлементов (НТ) и ненагреваемых термоэлементов (UHT) в качестве датчиков сигналов, предусмотрено множество удлиненных измерительных трубок (6), установленных с интервалами между собой. При этом каждая измерительная трубка (6) содержит некоторое количество термоэлементов (НТ, UHT), распределенных в продольном направлении, и причем каждому термоэлементу (НТ), нагреваемому подогревателем (НЕ) и выступающему в качестве датчика первичного сигнала в отношении сигнала, поставлен в соответствие ненагреваемый термоэлемент (UHT), выступающий в качестве датчика эталонного сигнала и установленный на измерительной трубке (6), отличной от первой измерительной трубки (6). Технический результат: простота конструкции и высокая безаварийность, четкое и надежное измерение высоты (Н) уровня. 2 н. и 9 з.п. ф-лы, 3 ил.

Дирекция сайта "Промышленная Сибирь"
Россия, г.Омск, ул.Учебная, 199-Б, к.408А
Сайт открыт 01.11.2000
© 2000-2018 Промышленная Сибирь
Разработка дизайна сайта:
Дизайн-студия "RayStudio"