|
На данной странице представлена ознакомительная часть выбранного Вами патента
Для получения более подробной информации о патенте (полное описание, формула изобретения и т.д.) Вам необходимо сделать заказ. Нажмите на «Корзину»
| УСТРОЙСТВО ДЛЯ ИЗМЕРЕНИЯ МАССОВОГО РАСХОДА ПОТОКА ТЕКУЧЕЙ СРЕДЫ |  |
Номер публикации патента: 2171970 |  |
| Редакция МПК: | 7 | | Основные коды МПК: | G01F001/69 G01F001/684 | | Аналоги изобретения: | DE 4219454 A1, 16.12.1993. DE 4241333 A1, 17.06.1993. SU 1029011 A, 15.07.1983. US 4870860 A, 03.10.1989. |
| Имя заявителя: | РОБЕРТ БОШ ГМБХ (DE) | | Изобретатели: | ЛЕМБКЕ Манфред (DE) КЛАЙНХАНС Йозеф (DE) ХЕХТ Ханс (DE) БАССЛЕР Хельмут (DE) ХЮФТЛЕ Герхард (DE) КРОМЕР Александер (DE) ВАЙБЛЕН Курт (DE) ЛЕЕНБЕРГЕР Штефан (DE) ФРИК Гюнтер (DE) РЕЙМАНН Клаус (DE) ХААГ Аксель-Вернер (DE) ТАНК Дитер (DE) КОНЦЕЛЬМАНН Уве (DE) ГЮНТЕР Вальдемар (DE) МАРБЕРГ Хеннинг (DE) | | Патентообладатели: | РОБЕРТ БОШ ГМБХ (DE) | | Номер конвенционной заявки: | 19524634.9 | | Страна приоритета: | DE | | Патентный поверенный: | Веселицкая Ирина Александровна |
Реферат |  |
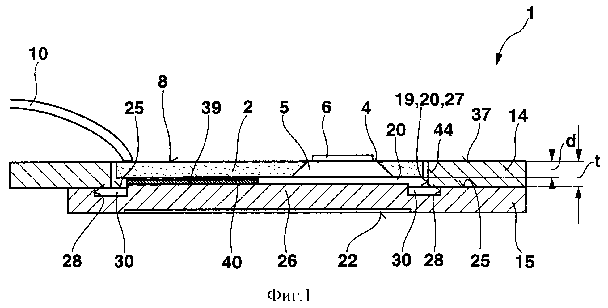
Изобретение предназначено для измерения массового расхода воздуха, всасываемого в двигатели внутреннего сгорания. Устройство содержит держатель из двух расположенных один над другим элементов: рамного с отверстием для установки чувствительного элемента (ЧЭ) и фиксирующего элемента. На поверхности последнего, образующей дно выемки, в которой расположен ЧЭ, имеются пластинообразные выступы, вокруг которых проходит канал в виде желоба. ЧЭ частично наклеен на выступы так, что канал проходит вдоль периметра ЧЭ снаружи его чувствительной зоны в виде мембраны, имеющей по меньшей мере один измерительный резистор. Между ЧЭ и стенкой выемки держателя со стороны, обращенной к потоку, имеется узкий зазор порядка нескольких микрон. Изобретение обеспечивает повышение надежности и точности измерения из-за снижения опасности поломки ЧЭ и исключения обтекания его в выемке снизу. 8 з.п.ф-лы, 4 ил.
|