|
На данной странице представлена ознакомительная часть выбранного Вами патента
Для получения более подробной информации о патенте (полное описание, формула изобретения и т.д.) Вам необходимо сделать заказ. Нажмите на «Корзину»
| КОМПЛЕКСНАЯ НАВИГАЦИОННАЯ СИСТЕМА |  |
Номер публикации патента: 2178147 |  |
| Редакция МПК: | 7 | | Основные коды МПК: | G01C023/00 | | Аналоги изобретения: | Помыкаев И.И. и др. Навигационные приборы и системы. - М.: Машиностроение, 1983, с.394. RU 2077028 С1, 10.04.1997. RU 2071034 C1, 27.12.1996. RU 2087867 С1, 20.08.1997. US 3630079, 28.12.1971. |
| Имя заявителя: | Открытое акционерное общество "Раменское приборостроительное конструкторское бюро" | | Изобретатели: | Никулин А.С. Герасимов Г.И. Горелов А.А. Джанджгава Г.И. Колосов А.И. Куколевский О.И. Никулина А.А. Орехов М.И. Рогалев А.П. Семаш А.А. | | Патентообладатели: | Открытое акционерное общество "Раменское приборостроительное конструкторское бюро" |
Реферат |  |
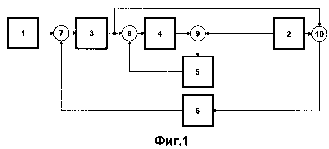
Изобретение предназначено для использования в составе комплексов навигационного оборудования летательных аппаратов. В систему, содержащую автономную навигационную систему, спутниковую навигационную систему, два интегратора, два корректирующих фильтра и четыре сумматора, дополнительно введены два усилителя, два сумматора, два интегратора, линия задержки и дифференциальное звено, что обеспечивает повышение точности определения координат местоположения и скорости летательных аппаратов. 2 з. п. ф-лы, 5 ил.
|