Промышленная Сибирь Ярмарка Сибири Промышленность СФО Электронные торги НОУ-ХАУ Электронные магазины Карта сайта
 
 

Поиск патентов

Как искать?
Реферат
Название
Публикация
Регистрационный номер
Имя заявителя
Имя изобретателя
Имя патентообладателя

    





Оформить заказ и задать интересующие Вас вопросы Вы можете напрямую c 6-00 до 14-30 по московскому времени кроме сб, вс. whatsapp 8-950-950-9888

На данной странице представлена ознакомительная часть выбранного Вами патента

Для получения более подробной информации о патенте (полное описание, формула изобретения и т.д.) Вам необходимо сделать заказ. Нажмите на «Корзину»


ЧЕТЫРЕХМОДОВЫЙ ГИРОСКОП НА СТАБИЛИЗИРОВАННОМ ТВЕРДОТЕЛЬНОМ ЛАЗЕРЕ БЕЗ ЗОНЫ НЕЧУВСТВИТЕЛЬНОСТИ

Номер публикации патента: 2382333

Вид документа: C2 
Страна публикации: RU 
Рег. номер заявки: 2006102425/28 
  Сделать заказПолучить полное описание патента

Редакция МПК: 
Основные коды МПК: G01C019/66   H01S003/083    
Аналоги изобретения: US 4141651 А, 27.02.1979. US 3741657 А, 26.06.1973. GB 2017392 А, 03.10.1979. US 4213705 А, 22.07.1980. US 3862803 A, 28.01.1975. RU 2117251 C1, 10.08.1998. 

Имя заявителя: ТАЛЕС (FR) 
Изобретатели: ШВАРТЦ Сильвен (FR)
ФЁНЬЕ Жилль (FR)
ПОШОЛЛЬ Жан-Поль (FR) 
Патентообладатели: ТАЛЕС (FR) 

Реферат


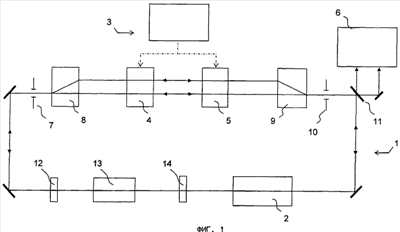
Изобретение относится к твердотельным лазерным гироскопам, предназначенным для измерения скорости вращения или относительных угловых положений, и используется, в частности, в области аэронавигации. Гироскоп содержит оптические элементы (8, 9) поляризационного разделения, взаимный (4) и невзаимные (5, 13) вращатели плоскости поляризации, благодаря чему достигается распространение в резонаторе (1) четырех линейно-поляризованных оптических мод, частоты которых различаются в достаточной степени для того, чтобы избежать синхронизации мод. Изобретение позволяет получить "полностью оптический" стабильный твердотельный лазер, не имеющий подвижных частей и зоны нечувствительности. 2 с. и 6 з.п. ф-лы, 7 ил.

Дирекция сайта "Промышленная Сибирь"
Россия, г.Омск, ул.Учебная, 199-Б, к.408А
Сайт открыт 01.11.2000
© 2000-2018 Промышленная Сибирь
Разработка дизайна сайта:
Дизайн-студия "RayStudio"