Промышленная Сибирь Ярмарка Сибири Промышленность СФО Электронные торги НОУ-ХАУ Электронные магазины Карта сайта
 
 

Поиск патентов

Как искать?
Реферат
Название
Публикация
Регистрационный номер
Имя заявителя
Имя изобретателя
Имя патентообладателя

    





Оформить заказ и задать интересующие Вас вопросы Вы можете напрямую c 6-00 до 14-30 по московскому времени кроме сб, вс. whatsapp 8-950-950-9888

На данной странице представлена ознакомительная часть выбранного Вами патента

Для получения более подробной информации о патенте (полное описание, формула изобретения и т.д.) Вам необходимо сделать заказ. Нажмите на «Корзину»


ВСТАВКИ К РЕЗЬБОВОМУ МИКРОМЕТРУ

Номер публикации патента: 2476821

Вид документа: C1 
Страна публикации: RU 
Рег. номер заявки: 2011131321/28 
  Сделать заказПолучить полное описание патента

Редакция МПК: 
Основные коды МПК: G01B005/08    
Аналоги изобретения: SU 40578 A1, 31.12.1934. SU 57492 A1, 10.10.1940. RU 93003745 A, 20.09.1995. RU 2164003 C2, 10.03.2001. US 6868618 B2, 22.03.2005. JP 2009244128 A, 22.10.2009. 

Имя заявителя: Хохлов Виктор Матвеевич (RU),
Хохлов Павел Викторович (RU),
Трипузова Светлана Викторовна (RU),
Блинникова Инна Викторовна (RU) 
Изобретатели: Хохлов Виктор Матвеевич (RU) 
Патентообладатели: Хохлов Виктор Матвеевич (RU)
Хохлов Павел Викторович (RU)
Трипузова Светлана Викторовна (RU)
Блинникова Инна Викторовна (RU) 

Реферат


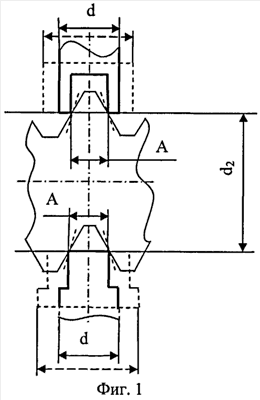
Изобретение относится к измерительной технике, а именно к средствам для линейных измерений средних диаметров резьбы. Предложены вставки к резьбовому микрометру для измерения среднего диаметра резьбы для измерения линейных размеров даже с другими измерительными средствами, отличающиеся тем, что поверхности их выполнены в виде одно- или двухступенчатых цилиндров, меньшая ступень которых может быть конической, с плоскими торцевыми перпендикулярными их оси поверхностями и двумя наружными и двумя внутренними параллельными оси цилиндров поверхностями, образующими паз и выступ одинакового размера А, который может быть равен половине стандартного шага резьбы. При этом касается впадины и выступа резьбы в двух точках с каждой стороны, позволяет измерять резьбу с различными углами профиля. В перпендикулярных оси цилиндров сечениях, проходящих через точки контакта, диаметры цилиндров могут быть равны удвоенному одинаковому размеру А. Расстояние между сечениями составляет измеряемый размер при измерении резьбовых или других поверхностей. Технический результат - повышение производительности и точности измерений, расширение диапазона измеряемых поверхностей и диапазона средств измерений. 1 ил.

Дирекция сайта "Промышленная Сибирь"
Россия, г.Омск, ул.Учебная, 199-Б, к.408А
Сайт открыт 01.11.2000
© 2000-2018 Промышленная Сибирь
Разработка дизайна сайта:
Дизайн-студия "RayStudio"