Промышленная Сибирь Ярмарка Сибири Промышленность СФО Электронные торги НОУ-ХАУ Электронные магазины Карта сайта
 
 

Поиск патентов

Как искать?
Реферат
Название
Публикация
Регистрационный номер
Имя заявителя
Имя изобретателя
Имя патентообладателя

    





Оформить заказ и задать интересующие Вас вопросы Вы можете напрямую c 6-00 до 14-30 по московскому времени кроме сб, вс. whatsapp 8-950-950-9888

На данной странице представлена ознакомительная часть выбранного Вами патента

Для получения более подробной информации о патенте (полное описание, формула изобретения и т.д.) Вам необходимо сделать заказ. Нажмите на «Корзину»


ЗЕНИТНАЯ РАКЕТА

Номер публикации патента: 2380650

Вид документа: C1 
Страна публикации: RU 
Рег. номер заявки: 2008144259/02 
  Сделать заказПолучить полное описание патента

Редакция МПК: 
Основные коды МПК: F42B015/10    
Аналоги изобретения: RU 2191985 C1, 27.10.2002. RU 2184343 C1, 27.06.2002. RU 2189003 C2, 10.09.2002. US 3486169 A, 08.04.1975. US 20317995 U1, 19.02.2004. 

Имя заявителя: Болотин Николай Борисович (RU) 
Изобретатели: Болотин Николай Борисович (RU) 
Патентообладатели: Болотин Николай Борисович (RU) 

Реферат


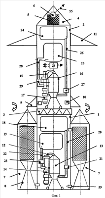
Изобретение относится к ракетной технике, в частности к зенитным ракетам. Зенитная ракета содержит не менее двух ракетных ступеней с жидкостными ракетными двигателями (ЖРД) и соединенные с ними баки горючего и окислителя. На верхней ступени ракеты установлены управляемые аэродинамические рули и крылья. К нижней ступени ракеты параллельно ее оси подсоединены твердотопливные ускорители с ракетными двигателями твердого топлива. Каждый ЖРД содержит камеру сгорания с системой регенеративного охлаждения, турбонасосный агрегат и газогенератор. Турбонасосный агрегат содержит насосы окислителя и горючего и основную и пусковую турбины. Газогенератор установлен соосно с турбонасосным агрегатом. Выход насоса горючего соединен с входом системы регенеративного охлаждения и с входом газогенератора, выход из насоса окислителя соединен со вторым входом газогенератора, выходы газогенератора и системы регенеративного охлаждения соединены с цилиндрической частью камеры сгорания. Улучшаются технические характеристики ракеты в широком диапазоне режимов полета на различной высоте. 2 ил.

Дирекция сайта "Промышленная Сибирь"
Россия, г.Омск, ул.Учебная, 199-Б, к.408А
Сайт открыт 01.11.2000
© 2000-2018 Промышленная Сибирь
Разработка дизайна сайта:
Дизайн-студия "RayStudio"