|
На данной странице представлена ознакомительная часть выбранного Вами патента
Для получения более подробной информации о патенте (полное описание, формула изобретения и т.д.) Вам необходимо сделать заказ. Нажмите на «Корзину»
| АРТИЛЛЕРИЙСКИЙ СНАРЯД |  |
Номер публикации патента: 2168696 |  |
| Редакция МПК: | 7 | | Основные коды МПК: | F42B014/00 | | Аналоги изобретения: | 120-мм Самоходное артиллерийское орудие 2С9. Техническое описание и инструкция по эксплуатации 2С9ТО. Часть III: Боеприпасы. - М.: Воениздат, 1991, с. 40, рис. 10. RU 2135942 C1, 27.08.1999. RU 2150081 C1, 27.05.2000. FR 2712973, 02.06.1995. GB 2279436 A, 04.01.1995. |
| Имя заявителя: | Федеральное государственное унитарное предприятие "Государственное научно-производственное предприятие "Базальт" | | Изобретатели: | Базилевич В.М. Приоров В.А. Руссков В.Ф. Снопок Ю.Г. | | Патентообладатели: | Федеральное государственное унитарное предприятие "Государственное научно-производственное предприятие "Базальт" |
Реферат |  |
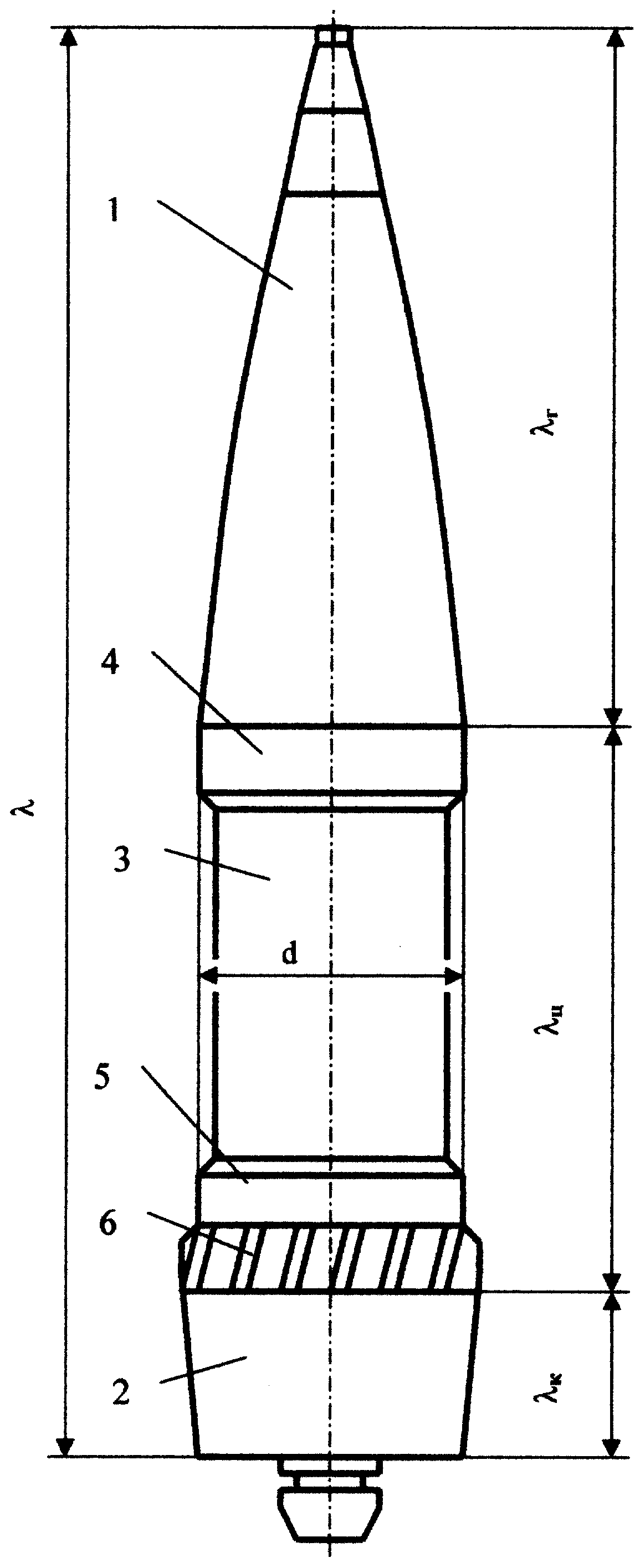
Изобретение относится к области артиллерийского вооружения. Артиллерийский снаряд состоит из оживальной головной части с взрывателем, конической кормовой части, цилиндрической части и расположенных по краям цилиндрической части верхнего центрующего утолщения и нижнего центрующего утолщения с готовыми выступами. Длина головной части составляет (2,55 - 2,90)d, длина кормовой части -(0,60 - 0,65)d, а расстояние между верхним и нижним центрующими утолщениями - (2,00 - 2,30)d при общей длине снаряда (5,45 -5,55)d, где d - калибр снаряда. Изобретение позволяет повысить кучность боя в диапазоне начальных скоростей 530 - 600 м/с при сохранении дальности стрельбы. 1 табл., 1 ил.
|