Промышленная Сибирь Ярмарка Сибири Промышленность СФО Электронные торги НОУ-ХАУ Электронные магазины Карта сайта
 
 

Поиск патентов

Как искать?
Реферат
Название
Публикация
Регистрационный номер
Имя заявителя
Имя изобретателя
Имя патентообладателя

    





Оформить заказ и задать интересующие Вас вопросы Вы можете напрямую c 6-00 до 14-30 по московскому времени кроме сб, вс. whatsapp 8-950-950-9888

На данной странице представлена ознакомительная часть выбранного Вами патента

Для получения более подробной информации о патенте (полное описание, формула изобретения и т.д.) Вам необходимо сделать заказ. Нажмите на «Корзину»


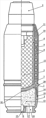
АРТИЛЛЕРИЙСКИЙ ПАТРОН

Номер публикации патента: 2421685

Вид документа: C1 
Страна публикации: RU 
Рег. номер заявки: 2010110329/11 
  Сделать заказПолучить полное описание патента

Редакция МПК: 
Основные коды МПК: F42B005/02   F42B005/18   F42B012/32    
Аналоги изобретения: RU 2135938 C1, 27.08.1999. RU 2125226 C1, 20.01.1999. RU 2287766 C1, 20.11.2006. US 6408764 B1, 25.06.2002. EP 1092939 A1, 18.04.2001. US 5979332 A1, 09.11.1999. 

Имя заявителя: Федеральное государственное унитарное предприятие "Федеральный научно-производственный центр "Прибор" (RU) 
Изобретатели: Завора Илья Викторович (RU)
Косихин Анатолий Иванович (RU)
Николаев Сергей Евгеньевич (RU)
Чижевский Олег Тимофеевич (RU) 
Патентообладатели: Федеральное государственное унитарное предприятие "Федеральный научно-производственный центр "Прибор" (RU) 

Реферат


Изобретение относится к боеприпасам унитарного заряжания, а более конкретно к артиллерийским безгильзовым патронам для автоматических гранатометов. Патрон содержит боевую осколочную часть, корпус, камеру сгорания порохового метательного заряда и диафрагму. Осколочная часть состоит из головного взрывателя и ведущего пояска. Поясок выполнен из монолита днища корпуса. На корпусе неразъемно закреплена камера сгорания порохового метательного заряда. Заряд сообщается с капсюлем-воспламенителем, установленным в торцевой диафрагме. Достигается повышение эффективности осколочного поражающего действия патрона. 1 ил.

Дирекция сайта "Промышленная Сибирь"
Россия, г.Омск, ул.Учебная, 199-Б, к.408А
Сайт открыт 01.11.2000
© 2000-2018 Промышленная Сибирь
Разработка дизайна сайта:
Дизайн-студия "RayStudio"