|
На данной странице представлена ознакомительная часть выбранного Вами патента
Для получения более подробной информации о патенте (полное описание, формула изобретения и т.д.) Вам необходимо сделать заказ. Нажмите на «Корзину»
| КАССЕТНАЯ ГОЛОВНАЯ ЧАСТЬ ВРАЩАЮЩЕЙСЯ РАКЕТЫ В СНАРЯЖЕНИИ ЖИДКИМ НАПОЛНИТЕЛЕМ |  |
Номер публикации патента: 2179298 |  |
| Редакция МПК: | 7 | | Основные коды МПК: | F42B012/44 | | Аналоги изобретения: | RU 2138007 C1, 20.09.1999. RU 2076302 C1, 27.03.1997. RU 2154799 C1, 20.08.2000. RU 2071027 C1, 27.12.1996. RU 2097674 C1, 27.10.1996. СН 652494 А5, 15.11.1985. US 5160803 А, 03.11.1992. FR 2684178 A1, 21.05.1993. RU 2156429 С1, 20.09.2000. |
| Имя заявителя: | Государственное унитарное предприятие "Государственное научно-производственное предприятие "Сплав" | | Изобретатели: | Акельев А.И. Белобрагин Б.А. Безносов В.И. Григоров С.И. Денежкин Г.А. Дмитриев Б.А. Макаровец Н.А. Малахов А.Н. Обозов Л.И. Романовцев Б.М. Хомицевич А.М. | | Патентообладатели: | Государственное унитарное предприятие "Государственное научно-производственное предприятие "Сплав" Государственное унитарное предприятие Завод "Эластик" |
Реферат |  |
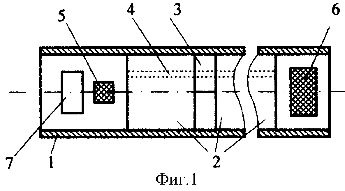
Изобретение относится к области военной техники, а именно к ракетам, и может быть использовано при разработке вращающихся ракет, в том числе реактивных снарядов реактивных систем залпового огня. Сущность изобретения заключается в том, что в кассетной головной части вращающейся ракеты, содержащей корпус, размещенные в нем боевые элементы с газоводами, узел разведения боевых элементов и командное устройство, боевые элементы снаряжены жидким наполнителем, выполнены цилиндрическими диаметром, равным внутреннему диаметру корпуса головной части, соединены между собой беззазорно разрезными кольцами П-образного сечения, выполненными диаметром, равным диаметру боевых элементов, а на торцах выполнены полости, сообщающиеся с газоводами. Узел разведения боевых элементов снабжен форсирующим и вышибным зарядами, размещенными в носовом и донном отсеках корпуса головной части соответственно, причем форсирующий заряд электрически связан с командным устройством, а относительное удлинение боевого элемента выбрано с учетом калибра головной части и вязкости жидкого наполнителя. Выполнение головной части в соответствии с изобретением позволяет повысить эффективность огневого поражения в 3-4 раза, а также повысить точность стрельбы на 20...30%. 2 ил.
|