Промышленная Сибирь Ярмарка Сибири Промышленность СФО Электронные торги НОУ-ХАУ Электронные магазины Карта сайта
 
 

Поиск патентов

Как искать?
Реферат
Название
Публикация
Регистрационный номер
Имя заявителя
Имя изобретателя
Имя патентообладателя

    





Оформить заказ и задать интересующие Вас вопросы Вы можете напрямую c 6-00 до 14-30 по московскому времени кроме сб, вс. whatsapp 8-950-950-9888

На данной странице представлена ознакомительная часть выбранного Вами патента

Для получения более подробной информации о патенте (полное описание, формула изобретения и т.д.) Вам необходимо сделать заказ. Нажмите на «Корзину»


ПУЛЯ "СТИЛЕТ" И ПАТРОН ДЛЯ ГЛАДКОСТВОЛЬНОГО ОРУЖИЯ

Номер публикации патента: 2465546

Вид документа: C1 
Страна публикации: RU 
Рег. номер заявки: 2011120400/11 
  Сделать заказПолучить полное описание патента

Редакция МПК: 
Основные коды МПК: F42B030/02   F42B014/06   F42B007/10    
Аналоги изобретения: US 4788915 А, 06.12.1988. US 3726231 A, 10.04.1973. SU 1008613 A1, 30.03.1983. SU 1141293 A1, 23.02.1985. RU 33217 U1, 10.10.2003. FR 2431676 A1, 15.02.1980. 

Имя заявителя: Кутенков Валерий Георгиевич (RU),
Кутенкова Светлана Михайловна (RU),
Нестеренко Ирина Валерьевна (RU),
Нечаев Владимир Николаевич (RU),
Нечаева Татьяна Николаевна (RU) 
Изобретатели: Кутенков Валерий Георгиевич (RU)
Кутенкова Светлана Михайловна (RU)
Нестеренко Ирина Валерьевна (RU)
Нечаев Владимир Николаевич (RU)
Нечаева Татьяна Николаевна (RU) 
Патентообладатели: Кутенков Валерий Георгиевич (RU)
Кутенкова Светлана Михайловна (RU)
Нестеренко Ирина Валерьевна (RU)
Нечаев Владимир Николаевич (RU)
Нечаева Татьяна Николаевна (RU) 

Реферат


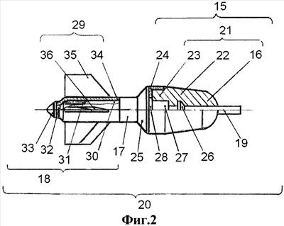
Изобретение относится к области боеприпасов. Пуля подкалиберная выполнена сборной из предварительно изготовленных и закрепленных неразъемно на твердосплавном центральном стержне головной части пули, включающей тело головной части пули, имеющее полусферический обтекатель, и юбку головной части пули, и хвостовой части пули, включающей хвостовой стабилизатор, с образованием единого обтекаемого аэродинамического тела в виде оперенного веретена с удлинением пули около 6,0. Центральный стержень выполнен в виде осесимметричного тела вращения ступенчато-цилиндрической формы для размещения на нем с помощью прессовой посадки конструктивных элементов пули, имеющих заданное соотношение размеров. Патрон содержит гильзу, средство воспламенения, пороховой заряд, пулю, упомянутую выше, и тянущий поддон, состоящий из секторных полуподдонов. При снаряжении патрона пуля устанавливается в гильзе погружением стабилизатора хвостовой части непосредственно в пороховой заряд с надлежащим поджатием пороха тянущим поддоном. Увеличивается дальнобойность патрона. 2 н. и 4 з.п. ф-лы, 2 ил.

Дирекция сайта "Промышленная Сибирь"
Россия, г.Омск, ул.Учебная, 199-Б, к.408А
Сайт открыт 01.11.2000
© 2000-2018 Промышленная Сибирь
Разработка дизайна сайта:
Дизайн-студия "RayStudio"