Промышленная Сибирь Ярмарка Сибири Промышленность СФО Электронные торги НОУ-ХАУ Электронные магазины Карта сайта
 
 

Поиск патентов

Как искать?
Реферат
Название
Публикация
Регистрационный номер
Имя заявителя
Имя изобретателя
Имя патентообладателя

    





Оформить заказ и задать интересующие Вас вопросы Вы можете напрямую c 6-00 до 14-30 по московскому времени кроме сб, вс. whatsapp 8-950-950-9888

На данной странице представлена ознакомительная часть выбранного Вами патента

Для получения более подробной информации о патенте (полное описание, формула изобретения и т.д.) Вам необходимо сделать заказ. Нажмите на «Корзину»


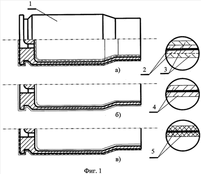
ПАТРОННАЯ ГИЛЬЗА

Номер публикации патента: 2412424

Вид документа: C1 
Страна публикации: RU 
Рег. номер заявки: 2010103152/11 
  Сделать заказПолучить полное описание патента

Редакция МПК: 
Основные коды МПК: F42B005/28   F42B005/295    
Аналоги изобретения: RU 2313058 C1, 20.12.2007. RU 2299395 C1, 20.05.2007. RU 2246684 С1, 20.02.2005. WO 03058153 A2, 17.07.2003. US 2003209162 A1, 13.11.2003. WO 0148436 A1, 05.07.2001. 

Имя заявителя: Закрытое акционерное общество "Барнаульский патронный завод" (RU) 
Изобретатели: Бускина Людмила Георгиевна (RU)
Исаев Олег Борисович (RU)
Яшкин Виктор Алексеевич (RU)
Степанов Николай Васильевич (RU)
Захарьящев Валерий Васильевич (RU)
Каинов Николай Григорьевич (RU)
Карбушев Виктор Федорович (RU) 
Патентообладатели: Закрытое акционерное общество "Барнаульский патронный завод" (RU) 

Реферат


Изобретение относится к области производства патронов стрелкового оружия и может быть реализовано для создания полимерного покрытия на металлических поверхностях изделий. Патронная гильза содержит защитное покрытие, включающее цинкофосфатный и полимерный слои. Слои последовательно нанесены на поверхность гильзы. В качестве составляющих полимерного слоя используют смесь водоразбавляемого полиуретанового или фенилсилоксанового лаков с полиметилсилоксаном и сополимером бутадиена со стиролом. Достигается увеличение срока хранения гильз и патронов. 1 з.п. ф-лы, 2 ил.

Дирекция сайта "Промышленная Сибирь"
Россия, г.Омск, ул.Учебная, 199-Б, к.408А
Сайт открыт 01.11.2000
© 2000-2018 Промышленная Сибирь
Разработка дизайна сайта:
Дизайн-студия "RayStudio"