Промышленная Сибирь Ярмарка Сибири Промышленность СФО Электронные торги НОУ-ХАУ Электронные магазины Карта сайта
 
 

Поиск патентов

Как искать?
Реферат
Название
Публикация
Регистрационный номер
Имя заявителя
Имя изобретателя
Имя патентообладателя

    





Оформить заказ и задать интересующие Вас вопросы Вы можете напрямую c 6-00 до 14-30 по московскому времени кроме сб, вс. whatsapp 8-950-950-9888

На данной странице представлена ознакомительная часть выбранного Вами патента

Для получения более подробной информации о патенте (полное описание, формула изобретения и т.д.) Вам необходимо сделать заказ. Нажмите на «Корзину»


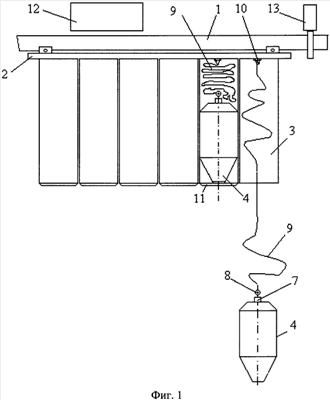
АВИАЦИОННЫЙ ПРОТИВОЛАВИННЫЙ КОМПЛЕКС

Номер публикации патента: 2471141

Вид документа: C1 
Страна публикации: RU 
Рег. номер заявки: 2011117897/11 
  Сделать заказПолучить полное описание патента

Редакция МПК: 
Основные коды МПК: F42B012/48   F42B039/14   F42D003/00    
Аналоги изобретения: RU 2265793 C1, 10.12.2005. RU 2010128249 A1, 09.12.2008. US 2008216699 A1, 11.09.2008. EP 0938640 A1, 01.09.1999. 

Имя заявителя: ГОСУДАРСТВЕННОЕ УЧРЕЖДЕНИЕ "ВЫСОКОГОРНЫЙ ГЕОФИЗИЧЕСКИЙ ИНСТИТУТ" (ГУ ВГИ) (RU) 
Изобретатели: Абшаев Магомет Тахирович (RU)
Байсиев Хаджи-Mурат Хасанович (RU)
Абшаев Али Магометович (RU) 
Патентообладатели: ГОСУДАРСТВЕННОЕ УЧРЕЖДЕНИЕ "ВЫСОКОГОРНЫЙ ГЕОФИЗИЧЕСКИЙ ИНСТИТУТ" (ГУ ВГИ) (RU) 

Реферат


Изобретение относится к области технических средств обеспечения преждевременного спуска лавин, в частности к авиационным противолавинным комплексам. Авиационный противолавинный комплекс содержит летательный аппарат, контейнер, боеприпасы с зарядами взрывчатого вещества, пульт дистанционного управления подрывом зарядов и лазерный измеритель. Контейнер размещен непосредственно под фюзеляжем летательного аппарата. Контейнер содержит отсеки с боеприпасами. Боеприпасы размещены в отсеках на подвесах. Боеприпас содержит безосколочный влагонепроницаемый корпус, заряд взрывчатого вещества с взрывателем и дистанционным приводом. На борту летательного аппарата дополнительно размещен лазерный измеритель расстояния до поверхности снежного покрова. Достигается повышение эффективности противолавинного комплекса. 2 з.п. ф-лы, 2 ил.

Дирекция сайта "Промышленная Сибирь"
Россия, г.Омск, ул.Учебная, 199-Б, к.408А
Сайт открыт 01.11.2000
© 2000-2018 Промышленная Сибирь
Разработка дизайна сайта:
Дизайн-студия "RayStudio"