|
На данной странице представлена ознакомительная часть выбранного Вами патента
Для получения более подробной информации о патенте (полное описание, формула изобретения и т.д.) Вам необходимо сделать заказ. Нажмите на «Корзину»
| ДВУХКАНАЛЬНАЯ СИСТЕМА НАВЕДЕНИЯ |  |
Номер публикации патента: 2180090 |  |
| Редакция МПК: | 7 | | Основные коды МПК: | F41G007/26 G01B011/26 | | Аналоги изобретения: | RU 2138003 C1, 20.09.1999. RU 2126946 С1, 27.02.1999. PR 2503857 А1, 15.10.1982. GB 2066431 А, 08.07.1981. US 4330099,18.05.1982. |
| Имя заявителя: | Научно-исследовательский институт физической оптики и оптики лазеров, информационных систем - Головной институт ВНЦ "ГОИ им. С.И. Вавилова" | | Изобретатели: | Горянкин Г.С. Денисов Р.Н. Краснушкин А.А. Курнель Г.И. Плешанов Ю.В. Пономарев А.Г. Родионов С.А. Тарасонов М.П. Бурец Г.А. | | Патентообладатели: | Научно-исследовательский институт физической оптики и оптики лазеров, информационных систем - Головной институт ВНЦ "ГОИ им. С.И. Вавилова" |
Реферат |  |
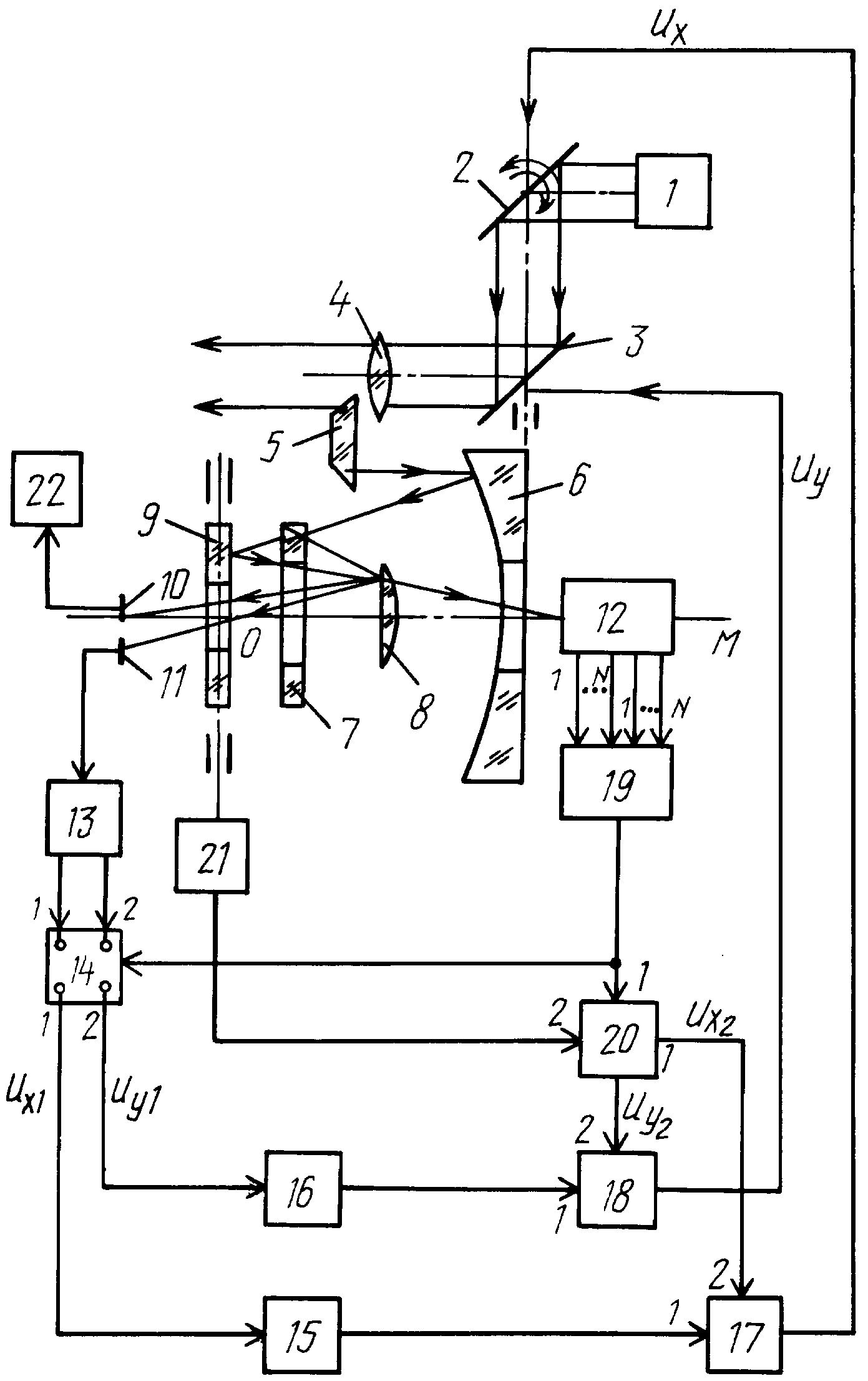
Двухканальная система наведения, использующая активно-пассивный принцип работы, предназначена для обзора пространства, слежения и измерения координат наблюдаемого объекта, а также для измерения дальности до него. Технический результат - расширение диапазона исследуемых объектов. Отличительной особенностью предлагаемой системы наведения является введение в пассивный канал дополнительного N-элементного фотоприемника, установленного, как и основной N-элементный фотоприемник, в фокальной плоскости объектива пассивного канала. Кроме этого, в систему введен дополнительный спектроделительный элемент и плоское сканирующее зеркало. Все это в совокупности позволяет повысить коэффициент пропускания оптической системы в активном канале примерно на 25-30%, не снижая при этом коэффициент пропускания в пассивном канале, и расширить диапазон исследуемых объектов в сторону менее нагретых 1 з.п. ф-лы, 1 ил.
|