Промышленная Сибирь Ярмарка Сибири Промышленность СФО Электронные торги НОУ-ХАУ Электронные магазины Карта сайта
 
 

Поиск патентов

Как искать?
Реферат
Название
Публикация
Регистрационный номер
Имя заявителя
Имя изобретателя
Имя патентообладателя

    





Оформить заказ и задать интересующие Вас вопросы Вы можете напрямую c 6-00 до 14-30 по московскому времени кроме сб, вс. whatsapp 8-950-950-9888

На данной странице представлена ознакомительная часть выбранного Вами патента

Для получения более подробной информации о патенте (полное описание, формула изобретения и т.д.) Вам необходимо сделать заказ. Нажмите на «Корзину»


КОМПЛЕКСНАЯ ПРИЦЕЛЬНАЯ СИСТЕМА ЛЕТАТЕЛЬНОГО АППАРАТА

Номер публикации патента: 2407977

Вид документа: C1 
Страна публикации: RU 
Рег. номер заявки: 2010111592/02 
  Сделать заказПолучить полное описание патента

Редакция МПК: 
Основные коды МПК: F41G003/22    
Аналоги изобретения: ГРИШУТИН В.Г. Лекции по авиационным прицельным системам стрельбы. - Киев: КВВАИУ, 1980. RU 2146803 С1, 20.03.2000. RU 2207513 С1, 27.06.2003. FR 2602046 А, 29.01.1988. 

Имя заявителя: Открытое акционерное общество "Раменское приборостроительное конструкторское бюро" (ОАО "РПКБ") (RU) 
Изобретатели: Бабиченко Андрей Викторович (RU)
Бражник Валерий Михайлович (RU)
Герасимов Геннадий Иванович (RU)
Джанджгава Гиви Ивлианович (RU)
Кавинский Владимир Валентинович (RU)
Коркишко Юрий Юрьевич (RU)
Манохин Вячеслав Иванович (RU)
Негриков Виктор Васильевич (RU)
Орехов Михаил Ильич (RU)
Полосенко Владимир Павлович (RU)
Сухоруков Сергей Яковлевич (RU)
Шелепень Константин Владимирович (RU)
Шерман Владимир Михайлович (RU)
Шушпанов Николай Александрович (RU) 
Патентообладатели: Открытое акционерное общество "Раменское приборостроительное конструкторское бюро" (ОАО "РПКБ") (RU) 

Реферат


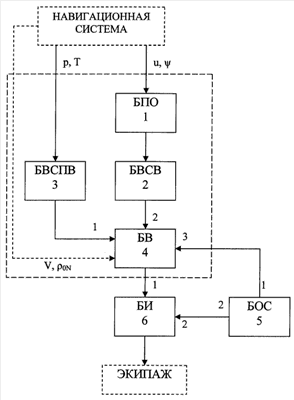
Изобретение относится к измерительным комплексам и системам летательных аппаратов. Система содержит блок средств обнаружения и сопровождения, блок индикации и баллистический вычислитель. Первый выход блока средств обнаружения и сопровождения подключен к третьему входу баллистического вычислителя. Выход баллистического вычислителя подключен к первому входу блока индикации. Второй выход блока средств обнаружения и сопровождения подключен ко второму входу блока индикации, визуально связанному с экипажем. Система снабжена блоком отбраковки аномальных результатов измерений скорости ветра, блоком вычисления средней скорости ветра и блоком вычисления средней плотности воздуха. Выход блока отбраковки аномальных результатов измерений скорости ветра соединен с входом блока вычисления средней скорости ветра, а его выход и выход блока вычисления средней плотности воздуха соединены с соответствующими входами баллистического вычислителя. Обеспечивает снижение погрешностей в прицеливании и повышение эффективности применения авиационных средств поражения. 1 ил.

Дирекция сайта "Промышленная Сибирь"
Россия, г.Омск, ул.Учебная, 199-Б, к.408А
Сайт открыт 01.11.2000
© 2000-2018 Промышленная Сибирь
Разработка дизайна сайта:
Дизайн-студия "RayStudio"