|
На данной странице представлена ознакомительная часть выбранного Вами патента
Для получения более подробной информации о патенте (полное описание, формула изобретения и т.д.) Вам необходимо сделать заказ. Нажмите на «Корзину»
| ИМИТАТОР ЦЕЛИ ДЛЯ БОЕПРИПАСОВ С ТЕЛЕВИЗИОННЫМИ ГОЛОВКАМИ САМОНАВЕДЕНИЯ |  |
Номер публикации патента: 2164653 |  |
| Редакция МПК: | 7 | | Основные коды МПК: | F41G003/22 | | Аналоги изобретения: | Комплект измерительный КИ-1А БЯ2.700.008 ТО для телевизионной головки самонаведения 9ЖБ-820, ОАО "Импульс", 1982. DE 3238897 А1, 26.04.1984. EP 0269843 А2, 08.06.1988. US 4464974, 14.08.1984. |
| Имя заявителя: | Государственное научно-производственное предприятие "Регион" | | Изобретатели: | Буадзе В.Ш. Герасин И.А. Захаров В.П. Коновалов Е.А. Кузнецов В.М. Матыцин В.Д. Мерцалов Б.Е. Стратонов А.С. Муранов Л.Н. | | Патентообладатели: | Государственное научно-производственное предприятие "Регион" Открытое акционерное общество "Импульс" |
Реферат |  |
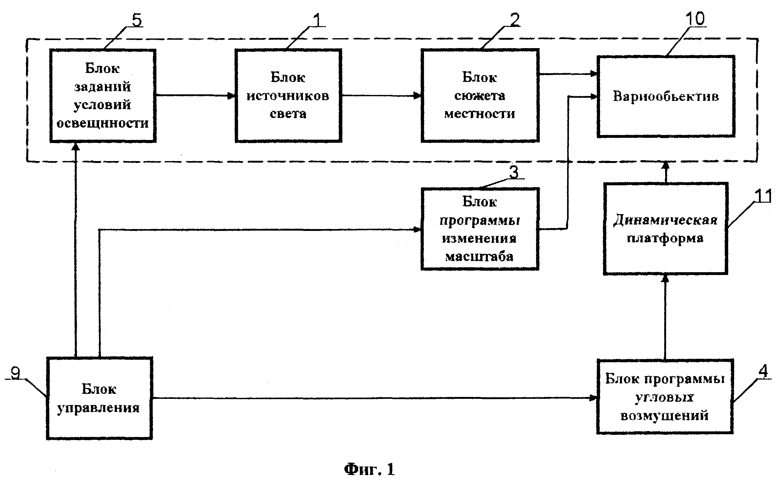
Изобретение относится к контрольно-измерительной технике корректируемых авиационных боеприпасов (КАБ) и может быть использовано для их контроля на любом этапе эксплуатации. Технический результат - упрощение и удешевление имитатора, а также сокращение времени контроля контролируемых боеприпасов. Имитатор цели позволяет осуществить контроль всех контуров телевизионной ГСН в составе КАБ без применения вариобъективов и поворотной платформы. Имитатор цели содержит блок источников света, перед которым расположен диапозитив с изображением местности с объектом поражения, а также блок изменения светотехнических характеристик цели, подключенный ко входу блока источников излучения, и блок управления, выходы которого подключены ко входу блока задания программы изменения масштаба цели и блока задания программы угловых возмущений на траектории самонаведения. Имитатор также содержит блок формирования пилообразных сигналов и блок формирования синусоидальных сигналов, выходы которых подключены к согласующему блоку, при этом вход блока формирования пилообразных сигналов подключен к выходу блока задания программы изменения масштаба цели, выход блока формирования синусоидальных сигналов подключен к выходу блока задания программы угловых возмущений на траектории самонаведения, а вход согласующего блока подключен к выходу блока управления. 2 ил.
|