Промышленная Сибирь Ярмарка Сибири Промышленность СФО Электронные торги НОУ-ХАУ Электронные магазины Карта сайта
 
 

Поиск патентов

Как искать?
Реферат
Название
Публикация
Регистрационный номер
Имя заявителя
Имя изобретателя
Имя патентообладателя

    





Оформить заказ и задать интересующие Вас вопросы Вы можете напрямую c 6-00 до 14-30 по московскому времени кроме сб, вс. whatsapp 8-950-950-9888

На данной странице представлена ознакомительная часть выбранного Вами патента

Для получения более подробной информации о патенте (полное описание, формула изобретения и т.д.) Вам необходимо сделать заказ. Нажмите на «Корзину»


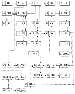
АВТОМАТИЗИРОВАННАЯ СИСТЕМА УПРАВЛЕНИЯ ВЫСОКОТОЧНЫМ ОРУЖИЕМ

Номер публикации патента: 2429439

Вид документа: C2 
Страна публикации: RU 
Рег. номер заявки: 2009140005/28 
  Сделать заказПолучить полное описание патента

Редакция МПК: 
Основные коды МПК: F41G005/00    
Аналоги изобретения: RU 2324134 C1, 10.05.2008. RU 2235270 C1, 27.08.2004. RU 2345310 C1, 27.01.2009. RU 2165063 C1, 10.04.2001. DE 200910010362 A1, 09.02.2010. CN 101719682 A, 02.06.2010. 

Имя заявителя: Белоконь Сергей Петрович (RU),
Дерюгин Борис Борисович (RU),
Дииб Бассам Ахмед (RU),
Зайцев Сергей Дмитриевич (RU),
Зиганшин Дамир Файзрахманович (RU),
Кириченко Александр Александрович (RU),
Старостин Михаил Михайлович (RU),
Ткаченко Владимир Иванович (RU),
Черкасов Владислав Николаевич (RU) 
Изобретатели: Белоконь Сергей Петрович (RU)
Дерюгин Борис Борисович (RU)
Дииб Бассам Ахмед (RU)
Зайцев Сергей Дмитриевич (RU)
Зиганшин Дамир Файзрахманович (RU)
Кириченко Александр Александрович (RU)
Старостин Михаил Михайлович (RU)
Ткаченко Владимир Иванович (RU)
Черкасов Владислав Николаевич (RU) 
Патентообладатели: Белоконь Сергей Петрович (RU)
Дерюгин Борис Борисович (RU)
Дииб Бассам Ахмед (RU)
Зайцев Сергей Дмитриевич (RU)
Зиганшин Дамир Файзрахманович (RU)
Кириченко Александр Александрович (RU)
Старостин Михаил Михайлович (RU)
Ткаченко Владимир Иванович (RU)
Черкасов Владислав Николаевич (RU) 

Реферат


Изобретение относится к военной технике, а более конкретно к автоматизированным системам управления высокоточным оружием. Оно содержит баллистический вычислитель, блок ручных поправок, выходы которого (по количеству поправок) подключены к соответствующим входам баллистического вычислителя, переключатель баллистики, лазерный дальномер и датчик ветра, датчик восходящего воздушного потока, первый второй квадратор, последовательно соединенные пульт управления, прицел, сумматор, привод вертикального наведения и орудие, масштабирующий блок, блок умножения и согласующее устройство. Предложенное устройство отличается тем, что дополнительно введена система наведения управляемой ракеты, включающая блок компенсации силы тяжести управляемой ракеты, последовательно соединенные координатор, устройство формирования сигнала управления, дополнительный сумматор, устройство формирования команды управления и линию передачи команд, блок превышения, третий квадратор, блок констант, два переключателя, три дополнительных масштабирующих блока, инвертор, датчики восходящего и продольного воздушного потоков, третий квадратор, третий дополнительный масштабирующий блок и блок превышения с соответствующими связями. Техническим результатом является повышение эффективности стрельбы управляемой ракетой. 1 ил.

Дирекция сайта "Промышленная Сибирь"
Россия, г.Омск, ул.Учебная, 199-Б, к.408А
Сайт открыт 01.11.2000
© 2000-2018 Промышленная Сибирь
Разработка дизайна сайта:
Дизайн-студия "RayStudio"