|
На данной странице представлена ознакомительная часть выбранного Вами патента
Для получения более подробной информации о патенте (полное описание, формула изобретения и т.д.) Вам необходимо сделать заказ. Нажмите на «Корзину»
| АВТОМАТ С ПОДСТВОЛЬНЫМ ГРАНАТОМЕТОМ |  |
Номер публикации патента: 2172461 |  |
| Редакция МПК: | 7 | | Основные коды МПК: | F41C023/00 F41A021/32 | | Аналоги изобретения: | Журнал "Оружейный двор", №16, 1998, c.4. WO 81/03376 Al, 26.11.1981. |
| Имя заявителя: | Ситов Геннадий Васильевич | | Изобретатели: | Ситов Г.В. | | Патентообладатели: | Ситов Геннадий Васильевич |
Реферат |  |
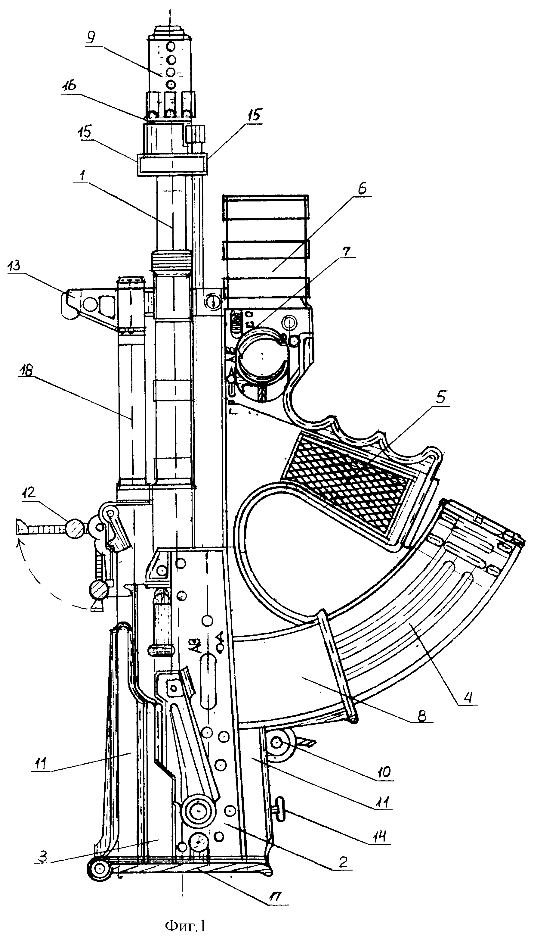
Изобретение относится к стрелковому вооружению. Автомат с подствольным гранатометом содержит ствол, ствольную коробку, трубку газового механизма, окно для установки магазина с боеприпасом, выполненное с пластмассовым кожухом, магазин для боеприпасов, мушку с прицелом, общую рукоятку ведения огня для автомата и гранатомета. При этом дульный тормоз автомата дополнительно является компенсатором-пламегасителем и выполнен в виде корпуса с газовой камерой. На корпусе дульного тормоза с боковых сторон выполнены по 5 отверстий размером 0,6 калибра с интервалом 0,6 калибра и осевые канавки с полусферными гнездами. Изобретение обеспечивает повышение эффективности оружия за счет возможности использования автомата с подствольным гранатометом в комплексе с глушителем, оптическим прицелом или прицелом ночного видения и штыкножом, без их отсоединения на время ведения огня из автомата или гранатомета. 2 ил.
|