Промышленная Сибирь Ярмарка Сибири Промышленность СФО Электронные торги НОУ-ХАУ Электронные магазины Карта сайта
 
 

Поиск патентов

Как искать?
Реферат
Название
Публикация
Регистрационный номер
Имя заявителя
Имя изобретателя
Имя патентообладателя

    





Оформить заказ и задать интересующие Вас вопросы Вы можете напрямую c 6-00 до 14-30 по московскому времени кроме сб, вс. whatsapp 8-950-950-9888

На данной странице представлена ознакомительная часть выбранного Вами патента

Для получения более подробной информации о патенте (полное описание, формула изобретения и т.д.) Вам необходимо сделать заказ. Нажмите на «Корзину»


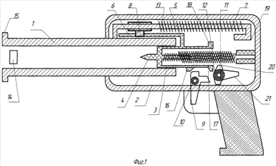
САМОЗАРЯДНЫЙ ГРАНАТОМЕТ

Номер публикации патента: 2390701

Вид документа: C2 
Страна публикации: RU 
Рег. номер заявки: 2007120743/02 
  Сделать заказПолучить полное описание патента

Редакция МПК: 
Основные коды МПК: F41A001/00   F41A003/78    
Аналоги изобретения: RU 2118782 С1, 10.09.1998. Оружие современной пехоты: иллюстрированный справочник. Часть II. Федосеев С.Л. - М.: ООО "Издательство Астрель", 2001, с.104-109. US 5628137 А, 13.05.1997. 

Имя заявителя: Борисов Петр Анатольевич (RU) 
Изобретатели: Борисов Петр Анатольевич (RU) 
Патентообладатели: Борисов Петр Анатольевич (RU) 

Реферат


Изобретение относится к области оружейной техники и представляет собой самозарядный гранатомет, состоящий из ствола, корпуса, ударника, свободного затвора и ударно-спускового механизма. Свободный затвор с ударником и ствол кинематически связаны между собой с помощью зубчатых тяг и синхронизатора в виде двух скрепленных между собой зубчатых колес, имеющих соотношение диаметров не менее чем 1:2. На переднем срезе ствола выполнена диафрагма, выступающая за боковые стенки ствола. В передней части ствола вблизи дульного среза выполнены два симметричных боковые окна, в задней части затвора выполнен выступ, обеспечивающий зацепление с шепталом в задней точке отката затвора, на шептале размещены наружные флажки и пружина для возврата шептала в исходное положение после отжатия вниз наружных флажков. На затворе и стволе выполнены выступы, расположение которых обеспечивает их соударение в задней точке отката подвижной системы оружия. Снижается импульс отдачи, повышается удобство обращения с оружием. 2 ил.

Дирекция сайта "Промышленная Сибирь"
Россия, г.Омск, ул.Учебная, 199-Б, к.408А
Сайт открыт 01.11.2000
© 2000-2018 Промышленная Сибирь
Разработка дизайна сайта:
Дизайн-студия "RayStudio"