Промышленная Сибирь Ярмарка Сибири Промышленность СФО Электронные торги НОУ-ХАУ Электронные магазины Карта сайта
 
 

Поиск патентов

Как искать?
Реферат
Название
Публикация
Регистрационный номер
Имя заявителя
Имя изобретателя
Имя патентообладателя

    





Оформить заказ и задать интересующие Вас вопросы Вы можете напрямую c 6-00 до 14-30 по московскому времени кроме сб, вс. whatsapp 8-950-950-9888

На данной странице представлена ознакомительная часть выбранного Вами патента

Для получения более подробной информации о патенте (полное описание, формула изобретения и т.д.) Вам необходимо сделать заказ. Нажмите на «Корзину»


АВТОМАТИЧЕСКОЕ ОРУЖИЕ

Номер публикации патента: 2410624

Вид документа: C2 
Страна публикации: RU 
Рег. номер заявки: 2008110416/02 
  Сделать заказПолучить полное описание патента

Редакция МПК: 
Основные коды МПК: F41A019/06    
Аналоги изобретения: RU 36497 U1, 10.03.2004. RU 66498 U1, 10.09.2007. RU 2074347 С1, 27.02.1997. RU 2258882 С2, 12.08.2005. 

Имя заявителя: Варнашов Вячеслав Михайлович (RU) 
Изобретатели: Варнашов Вячеслав Михайлович (RU) 
Патентообладатели: Варнашов Вячеслав Михайлович (RU) 

Реферат


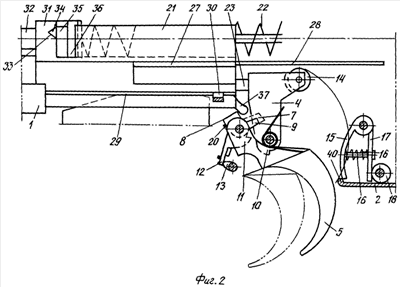
Изобретение относится к области вооружения, в частности к индивидуальному стрелковому оружию, предназначенному для поражения живой силы противника. В автоматическом оружии замедлитель курка выполнен в виде имеющей возможность взаимодействия с хвостом курка пластины 15, свободно посаженной одним концом на ось. Пластина 15 постоянно находится в контакте с хвостом курка 4. Регулятор темпа стрельбы выполнен в виде поставленной на ту же ось пластины 17, взаимодействующей с эксцентрической шайбой 18 для регулировки силы давления пружины 16 на замедлитель курка 4. Шайба 18 установлена между пластинами 15 и 17. Для обеспечения взаимодействия пластины 15 с хвостом курка последний снабжен роликом. Изобретение позволяет рентабельно использовать автоматическое оружие. 6 ил.

Дирекция сайта "Промышленная Сибирь"
Россия, г.Омск, ул.Учебная, 199-Б, к.408А
Сайт открыт 01.11.2000
© 2000-2018 Промышленная Сибирь
Разработка дизайна сайта:
Дизайн-студия "RayStudio"