Промышленная Сибирь Ярмарка Сибири Промышленность СФО Электронные торги НОУ-ХАУ Электронные магазины Карта сайта
 
 

Поиск патентов

Как искать?
Реферат
Название
Публикация
Регистрационный номер
Имя заявителя
Имя изобретателя
Имя патентообладателя

    





Оформить заказ и задать интересующие Вас вопросы Вы можете напрямую c 6-00 до 14-30 по московскому времени кроме сб, вс. whatsapp 8-950-950-9888

На данной странице представлена ознакомительная часть выбранного Вами патента

Для получения более подробной информации о патенте (полное описание, формула изобретения и т.д.) Вам необходимо сделать заказ. Нажмите на «Корзину»


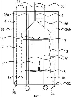
ТЕПЛООБМЕННОЕ УСТРОЙСТВО (ВАРИАНТЫ)

Номер публикации патента: 2388982

Вид документа: C2 
Страна публикации: RU 
Рег. номер заявки: 2008115308/06 
  Сделать заказПолучить полное описание патента

Редакция МПК: 
Основные коды МПК: F28D020/02    
Аналоги изобретения: US 5901572 А, 11.05.1999. ЕР 1455156 А2, 08.09.2004. US 4407134 А, 04.10.1983. RU 2267072 С2, 10.06.2003. RU 2145691 С1, 20.02.2000. RU 2135904 C1, 27.08.1999. 

Имя заявителя: ЭМДЖИ ИННОВЕЙШНЗ КОРП. (FI) 
Изобретатели: МОЙЛАЛА Кэри (FI)
ГАСИК Майкл (FI) 
Патентообладатели: ЭМДЖИ ИННОВЕЙШНЗ КОРП. (FI) 
Приоритетные данные: 10.10.2005 FI 20051018 

Реферат


Изобретение относится к теплообменным устройствам, в которых используется материал с легко изменяющимися фазовыми состояниями (далее - "МЛИФС-устройства"), содержащим регенеративные теплообменные модули (1a, 1b), работающие по принципу противотока, МЛИФС-аккумуляторы (2, 3), установленные в теплообменных модулях, и вихревую трубу (6, 7, 8). Когда направления потоков воздуха, газа или жидкости циклически изменяются в устройстве на противоположные, энергия накапливается в теплообменном модуле и в МЛИФС-аккумуляторе, а в следующем цикле энергия высвобождается из теплообменного модуля и МЛИФС-аккумулятора. В то время как один теплообменный модуль и МЛИФС-аккумулятор накапливают энергию (заряжаются), другой теплообменный модуль и МЛИФС-аккумулятор отдают энергию (разряжаются). Потоки охлажденной и нагретой текучей среды, выходящие из вихревой трубы, используются для создания или поддержки создания необходимой разницы температур. Технический результат - создание регенеративного теплообменного устройства, которое может быть использовано во многих случаях, даже тогда, когда отсутствует внешняя текучая среда, и, в частности, в условиях, когда разность температур входящей и выходящей текучих сред недостаточна для использования эффекта фазовых переходов МЛИФС, а также относительно низкая цена, малошумность, снижение веса, легкость обслуживания, экологическая безопасность. 2 н. и 10 з.п. ф-лы, 2 ил.

Дирекция сайта "Промышленная Сибирь"
Россия, г.Омск, ул.Учебная, 199-Б, к.408А
Сайт открыт 01.11.2000
© 2000-2018 Промышленная Сибирь
Разработка дизайна сайта:
Дизайн-студия "RayStudio"