RU 2001102322 А, 20.12.2002. US 6399016 В2, 04.06.2002. US 6565798 В2, 20.05.2003. RU 2002135612 А, 20.06.2004. RU 2003104829 А, 27.12.2004.
Имя заявителя:
ТЕКНОЛОДЖИКАЛ РЕСОРСИЗ ПТИ, ЛИМИТЕД (AU)
Изобретатели:
ГАРР Мэттью Джон (AU)
Патентообладатели:
ТЕКНОЛОДЖИКАЛ РЕСОРСИЗ ПТИ, ЛИМИТЕД (AU)
Приоритетные данные:
26.04.2005 AU 2005902093
Реферат
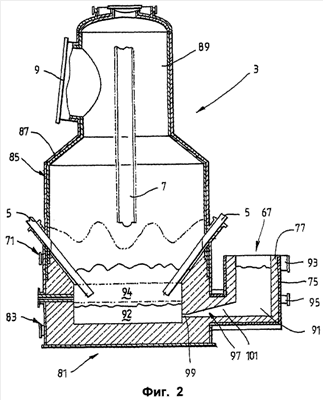
Изобретение относится к емкости для прямой плавки, предназначенной для осуществления способа прямой плавки с использованием жидкой ванны в условиях повышенного давления в емкости. Емкость 3 содержит копильник 67 для непрерывного выпуска расплавленного металла из этой емкости. Копильник содержит камеру 91 для удерживания объема расплавленного металла, имеющую выпускное отверстие 93 для выгрузки расплавленного металла из этой камеры, и открытый проход 97, идущий через боковую стенку горна во внутреннее пространство емкости 3 и таким образом соединяющий между собой камеру 91 и внутреннее пространство емкости 3. Открытый проход 97 обеспечивает смягчение влияния внезапных изменений давления в емкости 3 на поток расплавленного металла в копильник 67 и предотвращение нежелательного выброса расплавленного металла из копильника. Причем открытый проход 97 выполнен таким образом, чтобы расплавленный металл не застывал в проходе в течение, по меньшей мере, 6 часов, когда расплавленный металл не выгружают из емкости в копильник через открытый проход. 3 н. и 25 з.п. ф-лы, 5 ил.