Промышленная Сибирь Ярмарка Сибири Промышленность СФО Электронные торги НОУ-ХАУ Электронные магазины Карта сайта
 
 

Поиск патентов

Как искать?
Реферат
Название
Публикация
Регистрационный номер
Имя заявителя
Имя изобретателя
Имя патентообладателя

    





Оформить заказ и задать интересующие Вас вопросы Вы можете напрямую c 6-00 до 14-30 по московскому времени кроме сб, вс. whatsapp 8-950-950-9888

На данной странице представлена ознакомительная часть выбранного Вами патента

Для получения более подробной информации о патенте (полное описание, формула изобретения и т.д.) Вам необходимо сделать заказ. Нажмите на «Корзину»


УСТРОЙСТВО РАЗДЕЛЕНИЯ ПОДДОНОВ ДЛЯ СПЕКАНИЯ

Номер публикации патента: 2436025

Вид документа: C2 
Страна публикации: RU 
Рег. номер заявки: 2008132809/02 
  Сделать заказПолучить полное описание патента

Редакция МПК: 
Основные коды МПК: F27D005/00   F27B009/39   B65G035/08   G21C021/10    
Аналоги изобретения: GB 1501947, 22.02.1978. SU 1765655 A1, 30.09.1992. SU 298670, 16.04.1971. RU 2006436 C1, 30.01.1994. GB 1151549, 02.09.1966. RU 2216797 C2, 20.11.2003. RU 2158030 C2, 20.10.2000. 

Имя заявителя: АРЕВА НС (FR) 
Изобретатели: ПАЖ Жан-Пьер (FR) 
Патентообладатели: АРЕВА НС (FR) 
Приоритетные данные: 10.01.2006 FR 06/50091 

Реферат


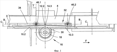
Устройство для разделения поддонов для транспортировки лодочек для спекания ядерных топливных таблеток содержит средства разделения по меньшей мере двух поддонов (210.1, 210.2), выполненных с возможностью перемещения вдоль первой оси (X), причем две торцевые поверхности поддонов находятся в контакте друг с другом. Вблизи этих торцевых поверхностей расположены средства разделения, обеспечивающие разрушение связи между двумя сцепленными поддонами, выполнены с возможностью перемещения по меньшей мере одного из двух поддонов (210.1, 210.2) вдоль второй вертикальной оси (Y), по существу перпендикулярной первой оси (X). Технический результат заключается в отсутствии повреждения поддонов (210.1, 210.2). 3 н. и 30 з.п. ф-лы, 18 ил.

Дирекция сайта "Промышленная Сибирь"
Россия, г.Омск, ул.Учебная, 199-Б, к.408А
Сайт открыт 01.11.2000
© 2000-2018 Промышленная Сибирь
Разработка дизайна сайта:
Дизайн-студия "RayStudio"