Промышленная Сибирь Ярмарка Сибири Промышленность СФО Электронные торги НОУ-ХАУ Электронные магазины Карта сайта
 
 

Поиск патентов

Как искать?
Реферат
Название
Публикация
Регистрационный номер
Имя заявителя
Имя изобретателя
Имя патентообладателя

    





Оформить заказ и задать интересующие Вас вопросы Вы можете напрямую c 6-00 до 14-30 по московскому времени кроме сб, вс. whatsapp 8-950-950-9888

На данной странице представлена ознакомительная часть выбранного Вами патента

Для получения более подробной информации о патенте (полное описание, формула изобретения и т.д.) Вам необходимо сделать заказ. Нажмите на «Корзину»


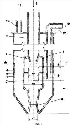
ФУРМА ДЛЯ ПОДАЧИ АКУСТИЧЕСКИ ВОЗБУЖДЕННЫХ ГАЗОВЫХ СТРУЙ В РАБОЧЕЕ ПРОСТРАНСТВО ЭНЕРГОТЕХНОЛОГИЧЕСКИХ АГРЕГАТОВ

Номер публикации патента: 2430320

Вид документа: C2 
Страна публикации: RU 
Рег. номер заявки: 2009108859/02 
  Сделать заказПолучить полное описание патента

Редакция МПК: 
Основные коды МПК: F27B003/22    
Аналоги изобретения: RU 2203327 С2, 27.04.2003. SU 1361178 А1, 23.12.1987. SU 441288 А1, 30.08.1974. SU 633904 А1, 25.11.1978. RU 78798 U1, 10.12.2008. 

Имя заявителя: Федеральное государственное автономное образовательное учреждение высшего профессионального образования "Уральский федеральный университет имени первого Президента России Б.Н. Ельцина" (RU) 
Изобретатели: Лисиенко Владимир Георгиевич (RU)
Засухин Анатолий Леонтьевич (RU)
Маликов Герман Константинович (RU)
Кирсанов Владимир Андреевич (RU)
Булатов Константин Валерьевич (RU) 
Патентообладатели: Федеральное государственное автономное образовательное учреждение высшего профессионального образования "Уральский федеральный университет имени первого Президента России Б.Н. Ельцина" (RU) 

Реферат


Изобретение относится к области энерготехнологий и может быть использовано для осаждения пыли из газовых потоков и интенсификации тепломассообменных процессов и процессов горения в энерготехнологических агрегатах. Фурма содержит корпус с водяным охлаждением и сопло фурмы для выхода озвученного газа. Внутри фурмы на одной оси с ней расположен газовый струйный акустический излучатель, состоящий из сопла, резонатора и рефлектора. Расстояние от торца резонатора до выходного сечения сопла фурмы составляет 4-5 диаметров резонатора. Выходное сечение сопла фурмы имеет различную ориентировку относительно ее продольной оси в диапазоне угла 0-45° между осью фурмы и осью ее сопла. Использование изобретения обеспечивает уменьшение габаритов и стоимости фурмы и снижение требуемых расходов газовой среды на создание звуковых колебаний. 2 ил.

Дирекция сайта "Промышленная Сибирь"
Россия, г.Омск, ул.Учебная, 199-Б, к.408А
Сайт открыт 01.11.2000
© 2000-2018 Промышленная Сибирь
Разработка дизайна сайта:
Дизайн-студия "RayStudio"