|
На данной странице представлена ознакомительная часть выбранного Вами патента
Для получения более подробной информации о патенте (полное описание, формула изобретения и т.д.) Вам необходимо сделать заказ. Нажмите на «Корзину»
| ВАКУУМНАЯ ПЕЧНАЯ УСТАНОВКА И ТЕРМОХИМИЧЕСКИЙ СПОСОБ УПРОЧНЕНИЯ ИЗДЕЛИЙ |  |
Номер публикации патента: 2183309 |  |
| Редакция МПК: | 7 | | Основные коды МПК: | F27B005/05 C23C014/00 | | Аналоги изобретения: | RU 2006773 C1, 30.01.1994. RU 2061764 С1, 10.06.1996. RU 2082068 C1, 20.06.1997. DE 4302570 C1, 24.03.1994. RU 2049329 C1, 27.11.1995. RU 2049330 C1, 27.11.1995. DE 4403275 A1, 11.08.1994. |
| Имя заявителя: | ООО "ЭОН БО" | | Изобретатели: | Брежнев В.Н. Коптелов С.С. Охлопков А.А. Аксман О.Н. Брежнев Н.В. | | Патентообладатели: | ООО "ЭОН БО" |
Реферат |  |
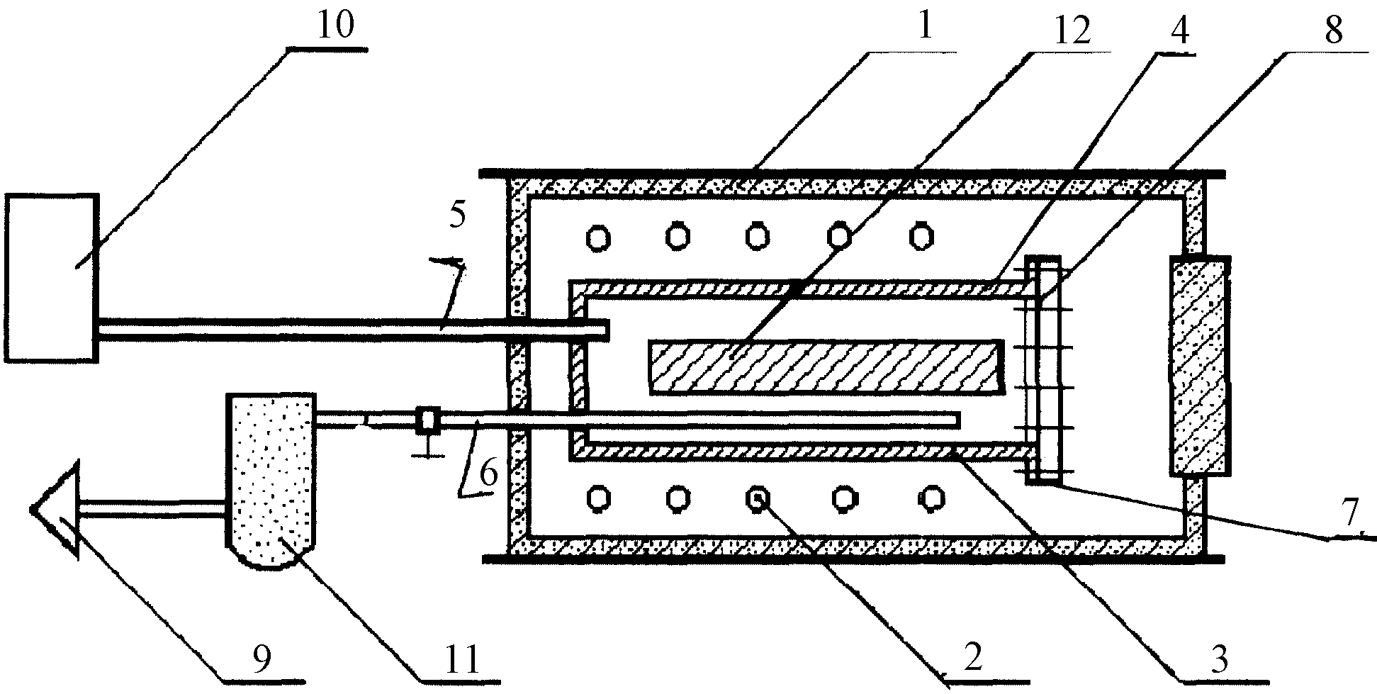
Изобретение относится к области термохимического упрочнения изделий, преимущественно имеющих остаточные приповерхностные напряжения; например, металлоизделия, содержащие горячекатаные детали, металлоизделия из проволоки, в т.ч. металлотканые, фильтрационные сетки, резьбы винтовых соединений, композитные керамические изделия и др. Техническим результатом изобретения является эффективность упрочняющей термохимической обработки изделий в газовых смесях, содержащих специальные активные компоненты. В предлагаемой вакуумной печной установке и термохимическом способе обработки изделий: вакуумная рабочая камера выполнена в виде толстостенной металлической вакуумно-плотной капсулы, геометрически согласованной с распределением внешних тепловыделяющих элементов так, что неоднородность температуры вдоль внутренних стенок вакуумной камеры минимальна для рабочего темпа нагрева, соединенной трубопроводами с контролируемой системой формирования активной газовой смеси; при реализации вакуумного термохимического способа упрочнения изделий после отжига проводят насыщение приповерхностных слоев изделия газовым носителем упрочняющих добавок, включая поверхности пор и микротрещин, а затем в газовую смесь добавляют активные компоненты, которые при термодинамических условиях процесса связывают упрочняющую примесь в приповерхностных слоях и, тем самым, стимулируют диффузию упрочняющих примесей из толщи материала изделия на обрабатываемую поверхность, повышая концентрацию связанных упрочняющих примесей на рабочей поверхности изделия. 2 с.п. ф-лы, 1 ил.
|