Промышленная Сибирь Ярмарка Сибири Промышленность СФО Электронные торги НОУ-ХАУ Электронные магазины Карта сайта
 
 

Поиск патентов

Как искать?
Реферат
Название
Публикация
Регистрационный номер
Имя заявителя
Имя изобретателя
Имя патентообладателя

    





Оформить заказ и задать интересующие Вас вопросы Вы можете напрямую c 6-00 до 14-30 по московскому времени кроме сб, вс. whatsapp 8-950-950-9888

На данной странице представлена ознакомительная часть выбранного Вами патента

Для получения более подробной информации о патенте (полное описание, формула изобретения и т.д.) Вам необходимо сделать заказ. Нажмите на «Корзину»


ТЕПЛОГЕНЕРАТОР, РАБОТАЮЩИЙ НА СОЛОМЕ

Номер публикации патента: 2419050

Вид документа: C1 
Страна публикации: RU 
Рег. номер заявки: 2010101451/06 
  Сделать заказПолучить полное описание патента

Редакция МПК: 
Основные коды МПК: F26B023/02   F23B060/00    
Аналоги изобретения: Инструкция по монтажу и эксплуатации котлов, FARM 2000, стр17 (http:/www.farm2000.co.uk/docs/Installation.pdf, май 1996 г.). ЕР 1695009 А1, 30.08.2006. RU 2263852 C1, 10.11.2005. SU 1814015 A1, 07.05.1993. 

Имя заявителя: Крылов Дмитрий Георгиевич (RU) 
Изобретатели: Крылов Дмитрий Георгиевич (RU) 
Патентообладатели: Крылов Дмитрий Георгиевич (RU) 

Реферат


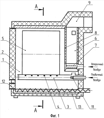
Настоящее изобретение относится к теплогенераторам, работающим на соломе, и предназначено для выработки горячих дымовых газов. Теплогенератор содержит закрываемую дверью камеру газификации, снабженную воздухопроводами с соплами для подачи первичного воздуха, и камеру дожигания, содержащую сопла для подачи вторичного воздуха. Воздухопроводы первичного воздуха расположены на расстоянии от пода камеры газификации, пространство под трубами служит для сбора золы. Камера дожигания расположена вертикально внутри камеры газификации, вход газа в камеру дожигания происходит через открытый нижний торец камеры дожигания в нижней части камеры газификации. Выход камеры дожигания снабжен каналами с устройством подачи (рециркуляции) части дымовых газов в воздухопроводы первичного воздуха. Такое исполнение теплогенератора позволяет уменьшить содержание золы в дымовых газах, улучшить качество дожигания газа, применение рециркуляции горячих дымовых газов позволяет увеличить мощность теплогенератора и сжигать солому повышенной влажности. 1 з.п. ф-лы, 2 ил.

Дирекция сайта "Промышленная Сибирь"
Россия, г.Омск, ул.Учебная, 199-Б, к.408А
Сайт открыт 01.11.2000
© 2000-2018 Промышленная Сибирь
Разработка дизайна сайта:
Дизайн-студия "RayStudio"