Промышленная Сибирь Ярмарка Сибири Промышленность СФО Электронные торги НОУ-ХАУ Электронные магазины Карта сайта
 
 

Поиск патентов

Как искать?
Реферат
Название
Публикация
Регистрационный номер
Имя заявителя
Имя изобретателя
Имя патентообладателя

    





Оформить заказ и задать интересующие Вас вопросы Вы можете напрямую c 6-00 до 14-30 по московскому времени кроме сб, вс. whatsapp 8-950-950-9888

На данной странице представлена ознакомительная часть выбранного Вами патента

Для получения более подробной информации о патенте (полное описание, формула изобретения и т.д.) Вам необходимо сделать заказ. Нажмите на «Корзину»


СУШИЛКА УНИВЕРСАЛЬНАЯ ДЛЯ СУШКИ СЫПУЧЕГО И НЕСЫПУЧЕГО МАТЕРИАЛА

Номер публикации патента: 2449231

Вид документа: C2 
Страна публикации: RU 
Рег. номер заявки: 2010129282/06 
  Сделать заказПолучить полное описание патента

Редакция МПК: 
Основные коды МПК: F26B015/04    
Аналоги изобретения: SU 499473 A1, 15.01.1976. RU 2219447 C1, 20.12.2003. RU 2169324 C1, 20.06.2001. JP 2007263481 A, 11.10.2007. WO 2008/113560 A2, 25.09.2008. 

Имя заявителя: Маслов Максим Михайлович (RU) 
Изобретатели: Маслов Максим Михайлович (RU) 
Патентообладатели: Маслов Максим Михайлович (RU) 

Реферат


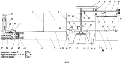
Изобретение относится к сельскохозяйственному машиностроению, в частности к установкам для сушки сыпучих и несыпучих материалов, например зерна, вороха семян трав, измельченной подвяленной травы. Сушилка универсальная для сушки сыпучего и несыпучего материала содержит сушильную камеру, наружную и внутреннюю стенки кольцевой формы, воздухораспределительную решетку, диффузор, воздухоподводящий канал, тепловентиляционный агрегат, включающий камеру сгорания, образованную внутренней поверхностью цилиндрического теплообменника, дымовую трубу, топливную форсунку, вентиляционный блок, электровентилятор с экранирующим коком. В сушилке дополнительно устанавливаются реверсивный разравнивающий шнек, регулируемый по высоте, питающий транспортер, неподвижный вал, токосъемные кольца, щеткодержатели, подвижное выгрузное устройство со сменными отсекающими полками и скребками, приемный лоток, отгрузочный воздуховод, циклон, вентилятор, противоточный теплообменник с патрубком. За счет установки подвижного выгрузного устройства со сменными отсекающими полками и отгрузочного воздуховода с циклоном и вентилятором стало возможным проведение непрерывного противоточного процесса сушки сыпучего и несыпучего материала с отсеканием и выгрузкой нижнего высушенного слоя, с одновременными отгрузкой и охлаждением высушенного материла в данном типе сушильных камер. 3 ил.

Дирекция сайта "Промышленная Сибирь"
Россия, г.Омск, ул.Учебная, 199-Б, к.408А
Сайт открыт 01.11.2000
© 2000-2018 Промышленная Сибирь
Разработка дизайна сайта:
Дизайн-студия "RayStudio"