Промышленная Сибирь Ярмарка Сибири Промышленность СФО Электронные торги НОУ-ХАУ Электронные магазины Карта сайта
 
 

Поиск патентов

Как искать?
Реферат
Название
Публикация
Регистрационный номер
Имя заявителя
Имя изобретателя
Имя патентообладателя

    





Оформить заказ и задать интересующие Вас вопросы Вы можете напрямую c 6-00 до 14-30 по московскому времени кроме сб, вс. whatsapp 8-950-950-9888

На данной странице представлена ознакомительная часть выбранного Вами патента

Для получения более подробной информации о патенте (полное описание, формула изобретения и т.д.) Вам необходимо сделать заказ. Нажмите на «Корзину»


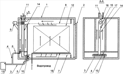
СПОСОБ И УСТРОЙСТВО СУШКИ И ТЕРМИЧЕСКОЙ ОБРАБОТКИ ДРЕВЕСИНЫ

Номер публикации патента: 2437043

Вид документа: C1 
Страна публикации: RU 
Рег. номер заявки: 2010113181/06 
  Сделать заказПолучить полное описание патента

Редакция МПК: 
Основные коды МПК: F26B003/04   F26B009/06    
Аналоги изобретения: SU 517768 А, 12.08.1976. RU 2153640 C1, 27.07.2000. SU 282033 A, 11.12.1970. SU 489918 A, 20.02.1976. SU 94710 A, 29.11.1960. US 2009249642 A1, 08.10.209. 

Имя заявителя: Общество с ограниченной ответственностью "Научно-производственное предприятие ТермоДревПром" (ООО "НПП ТермоДревПром") (RU) 
Изобретатели: Сафин Руслан Рушанович (RU)
Сафин Рушан Гареевич (RU)
Разумов Евгений Юрьевич (RU)
Тимербаев Наиль Фарилович (RU)
Зиатдинова Диляра Фариловна (RU)
Хайрутдинов Салават Зиннурович (RU)
Хасаншин Руслан Ромелевич (RU)
Кайнов Павел Александрович (RU)
Кайнов Петр Александрович (RU)
Шайхутдинова Айгуль Равильевна (RU)
Воронин Александр Евгеньевич (RU)
Ахтямова Татьяна Николаевна (RU) 
Патентообладатели: Общество с ограниченной ответственностью "Научно-производственное предприятие ТермоДревПром" (ООО "НПП ТермоДревПром") (RU) 

Реферат


Изобретение относится к способу термической обработки древесины и может найти применение в деревообрабатывающей, мебельной и других отраслях промышленности. Способ включает в себя размещение древесного топлива, например отходов древесины в топку для получения дымового газа, сжигание его и ввод высокотемпературного дымового газа в камеру, в которой размещена древесина для тепловой сушки. Причем в камере кроме процесса сушки древесного материала осуществляется и процесс термомодифицирования, включающий в себя стадию постепенного нагрева древесины до температуры 160-170°С путем подачи в камеру дымовых газов высокой концентрации, поддерживаемой на уровне 95-100 об.%, и их непрерывной многократной циркуляцией в камере, а по достижении 160-170°С происходит подача дымовых газов из топки в теплообменник, и дальнейший нагрев до 180-220°С осуществляется за счет теплопередачи между парогазовой смесью, циркулирующей в камере, и дымовыми газами, подаваемыми в теплообменник. Камера термомодифицирования представляет собой теплоизолированную металлическую камеру со створками, имеющую два газохода, снабженных шиберными заслонками. Внутри камеры находятся фальш-пол и фальш-потолок, система трубопроводов, по которым осуществляется циркуляция парогазовой смеси центробежным вентилятором, эжектирующие устройства. Изобретение должно обеспечить снижение экономических затрат на процесс сушки и термомодифицирования древесины и себестоимости конструкции устройства. 2 н.п. ф-лы, 1 ил.

Дирекция сайта "Промышленная Сибирь"
Россия, г.Омск, ул.Учебная, 199-Б, к.408А
Сайт открыт 01.11.2000
© 2000-2018 Промышленная Сибирь
Разработка дизайна сайта:
Дизайн-студия "RayStudio"