Промышленная Сибирь Ярмарка Сибири Промышленность СФО Электронные торги НОУ-ХАУ Электронные магазины Карта сайта
 
 

Поиск патентов

Как искать?
Реферат
Название
Публикация
Регистрационный номер
Имя заявителя
Имя изобретателя
Имя патентообладателя

    





Оформить заказ и задать интересующие Вас вопросы Вы можете напрямую c 6-00 до 14-30 по московскому времени кроме сб, вс. whatsapp 8-950-950-9888

На данной странице представлена ознакомительная часть выбранного Вами патента

Для получения более подробной информации о патенте (полное описание, формула изобретения и т.д.) Вам необходимо сделать заказ. Нажмите на «Корзину»


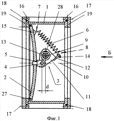
КЛАПАН ГЕРМЕТИЧЕСКИЙ ВЕНТИЛЯЦИОННЫЙ

Номер публикации патента: 2386876

Вид документа: C2 
Страна публикации: RU 
Рег. номер заявки: 2008123210/06 
  Сделать заказПолучить полное описание патента

Редакция МПК: 
Основные коды МПК: F16K001/22   F16K017/04   F16K015/03   F24F013/10    
Аналоги изобретения: RU 2248485 C1, 20.03.2005. RU 65602 U1, 10.08.2007. RU 2032845 C1, 10.04.1995. GB 498169 A, 04.01.1939. US 4856547 A, 15.08.1989. WO 03001094 A1, 03.01.2003. 

Имя заявителя: Чернышков Александр Владимирович (RU) 
Изобретатели: Чернышков Александр Владимирович (RU) 
Патентообладатели: Чернышков Александр Владимирович (RU) 

Реферат


Изобретение относится к арматуростроению и предназначено для использования в системах вентиляции помещений, в частности укрытий, требующих повышенной безопасности на случай резкого повышения давления воздушной среды. Клапан герметический вентиляционный содержит цилиндрический корпус. Внутри корпуса установлена поворотная тарель. Тарель шарнирно закреплена на двуплечем рычаге. Рычаг связан осью с жестко закрепленной на центральной части тарели стойкой. Между рычагом и тарелью установлена, по крайней мере, одна пружина. Один конец пружины связан с тарелью ближе к ее периферийной части. Другой конец пружины связан с рычагом. Рычаг жестко установлен на валу. Вал смещен в сторону от центральной оси тарели и расположен между осью, посредством которой связан рычаг со стойкой, и точкой крепления пружины к рычагу. Рычаг выполнен из двух параллельно расположенных пластин. Пластины соединены между собой продольной по отношению к валу пластиной и жестко насаженной на валу втулкой. Продольная пластина связана с пружиной. Между параллельными пластинами образовано пространство. В нем расположен конец стойки и ось соединения стойки с рычагом. Изобретение направлено на повышение герметичности клапана и эффективности его работы, а также на упрощение конструкции клапана. 2 з.п. ф-лы, 2 ил.

Дирекция сайта "Промышленная Сибирь"
Россия, г.Омск, ул.Учебная, 199-Б, к.408А
Сайт открыт 01.11.2000
© 2000-2018 Промышленная Сибирь
Разработка дизайна сайта:
Дизайн-студия "RayStudio"