Промышленная Сибирь Ярмарка Сибири Промышленность СФО Электронные торги НОУ-ХАУ Электронные магазины Карта сайта
 
 

Поиск патентов

Как искать?
Реферат
Название
Публикация
Регистрационный номер
Имя заявителя
Имя изобретателя
Имя патентообладателя

    





Оформить заказ и задать интересующие Вас вопросы Вы можете напрямую c 6-00 до 14-30 по московскому времени кроме сб, вс. whatsapp 8-950-950-9888

На данной странице представлена ознакомительная часть выбранного Вами патента

Для получения более подробной информации о патенте (полное описание, формула изобретения и т.д.) Вам необходимо сделать заказ. Нажмите на «Корзину»


ТЕПЛЫЙ ПОЛ

Номер публикации патента: 2431083

Вид документа: C1 
Страна публикации: RU 
Рег. номер заявки: 2010103252/03 
  Сделать заказПолучить полное описание патента

Редакция МПК: 
Основные коды МПК: F24D003/04    
Аналоги изобретения: RU 2357154 С2, 27.05.2009. RU 2032045 C1, 27.03.1995. DE 102005050293 A1, 19.04.2007. DE 4335654 C1, 20.04.1995. 

Имя заявителя: Соснин Валерий Иванович (RU) 
Изобретатели: Соснин Валерий Иванович (RU) 
Патентообладатели: Соснин Валерий Иванович (RU) 

Реферат


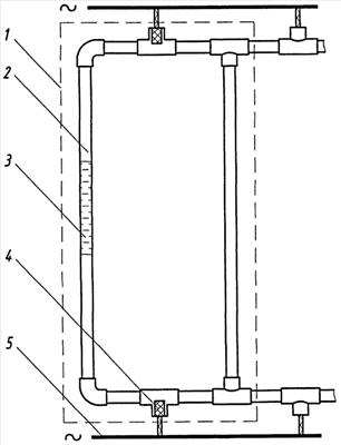
Изобретение относится к системам обогрева полов в помещениях различного назначения для создания комфортных условий, предпочтительно для обогрева полов в строящихся малоэтажных жилых домах и временно возводимых поселках. Технический результат: упрощение технологии изготовления теплого пола, снижение стоимости, повышение надежности и безопасности в эксплуатации. Теплый пол включает в себя электрическую отопительную систему, содержащую нагревательные секции с электрическими токоподводами. Причем в отопительной системе теплого пола нагревательные секции выполнены из сообщающихся между собой трубок, полость которых заполнена электролитом, например водным раствором поваренной соли. Причем трубки выполнены из материала с температурным коэффициентом линейного расширения, много большим температурного коэффициента линейного расширения электролита, например из полипропилена, а токоподводы нагревательных секций выполнены из графита и установлены симметрично в отверстия боковых трубок каждой секции и соединены параллельно токоподводящими шинами. 1 ил.

Дирекция сайта "Промышленная Сибирь"
Россия, г.Омск, ул.Учебная, 199-Б, к.408А
Сайт открыт 01.11.2000
© 2000-2018 Промышленная Сибирь
Разработка дизайна сайта:
Дизайн-студия "RayStudio"