Промышленная Сибирь Ярмарка Сибири Промышленность СФО Электронные торги НОУ-ХАУ Электронные магазины Карта сайта
 
 

Поиск патентов

Как искать?
Реферат
Название
Публикация
Регистрационный номер
Имя заявителя
Имя изобретателя
Имя патентообладателя

    





Оформить заказ и задать интересующие Вас вопросы Вы можете напрямую c 6-00 до 14-30 по московскому времени кроме сб, вс. whatsapp 8-950-950-9888

На данной странице представлена ознакомительная часть выбранного Вами патента

Для получения более подробной информации о патенте (полное описание, формула изобретения и т.д.) Вам необходимо сделать заказ. Нажмите на «Корзину»


ГАЗОВАЯ ГОРЕЛКА ДЛЯ ДУХОВКИ ИЛИ ГРИЛЯ, А ТАКЖЕ ДУХОВКА ИЛИ ГРИЛЬ, СОДЕРЖАЩИЕ ТАКУЮ ГАЗОВУЮ ГОРЕЛКУ

Номер публикации патента: 2469240

Вид документа: C2 
Страна публикации: RU 
Рег. номер заявки: 2011102378/06 
  Сделать заказПолучить полное описание патента

Редакция МПК: 
Основные коды МПК: F23D014/10   F24C003/08   F24C003/10    
Аналоги изобретения: US 3028909 А, 10.04.1962. RU 2319071 С2, 10.03.2008. FR 736842 A, 29.11.1932. SU 1763803 A1, 23.09.1992. US 4418456 A, 06.12.1983. 

Имя заявителя: САБАФ С.П.А. (IT) 
Изобретатели: БЕТТИНЦОЛИ Анджело (IT) 
Патентообладатели: САБАФ С.П.А. (IT) 

Реферат


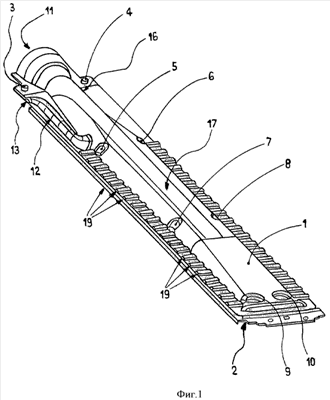
Изобретение относится к области энергетики. Газовая горелка для духовки или гриля содержит по меньшей мере одну трубку (16) Вентури для формирования горючей смеси из первичного воздуха и газа, имеющую по меньшей мере одну зону с уменьшенным сечением, за которой следует зона с расширяющимся сечением; по меньшей мере одну распределительную камеру (17) для горючей смеси, расположенную по потоку после зоны с расширяющимся сечением трубки Вентури; множество огневых каналов (19), предназначенных для выпуска горючей смеси, полученной в распределительной камере (17), или сообщенных с распределительной камерой; и по меньшей мере один запальный канал (13) для зажигания горелки. Горелка содержит по меньшей мере одну отводную трубку (12) для части потока горючей смеси, имеющую впускной и выпускной участки, при этом впускной участок отводной трубки (12) имеет по меньшей мере одно отверстие, выполненное во внутренней стенке по меньшей мере одной трубки (16) Вентури и/или во внутренней стенке по меньшей мере одной распределительной камеры (17), причем впускной участок образован на участке, расположенном по потоку после зоны с уменьшенным сечением трубки (16) Вентури, а выпускной участок отводной трубки (12) совмещен с по меньшей мере одним запальным каналом (13). Горелка выполнена с возможностью прикрепления к духовке или грилю на по меньшей мере одной стенке духовки или гриля или вблизи нее, при этом в горелке, закрепленной на по меньшей мере одной стенке духовки или гриля или вблизи нее выполнен по меньшей мере один запальный канал. Горелка содержит крепежное устройство для непосредственного или опосредованного крепления горелки на по меньшей мере одной стенке духовки или гриля, при этом в горелке на устройстве для крепления к стенке гриля или духовки или вблизи указанного устройства выполнен по меньшей мере один запальный канал. Крепежное устройство расположено у впускного участка по меньшей мере одной трубки Вентури. Горелка содержит один или несколько запальных каналов для зажигания горелки, при этом один или несколько запальных каналов совмещены только с выпускным участком по меньшей мере одной отводной трубки. Изобретение позволяет обеспечить эффективное воспламенение горелки и правильное расположение термопары защитного устройства. 2 н. и 17 з.п. ф-лы, 4 ил.

Дирекция сайта "Промышленная Сибирь"
Россия, г.Омск, ул.Учебная, 199-Б, к.408А
Сайт открыт 01.11.2000
© 2000-2018 Промышленная Сибирь
Разработка дизайна сайта:
Дизайн-студия "RayStudio"