Промышленная Сибирь Ярмарка Сибири Промышленность СФО Электронные торги НОУ-ХАУ Электронные магазины Карта сайта
 
 

Поиск патентов

Как искать?
Реферат
Название
Публикация
Регистрационный номер
Имя заявителя
Имя изобретателя
Имя патентообладателя

    





Оформить заказ и задать интересующие Вас вопросы Вы можете напрямую c 6-00 до 14-30 по московскому времени кроме сб, вс. whatsapp 8-950-950-9888

На данной странице представлена ознакомительная часть выбранного Вами патента

Для получения более подробной информации о патенте (полное описание, формула изобретения и т.д.) Вам необходимо сделать заказ. Нажмите на «Корзину»


ГАЗОТУРБИННАЯ ГОРЕЛКА И СПОСОБ ЭКСПЛУАТАЦИИ ГАЗОТУРБИННОЙ ГОРЕЛКИ

Номер публикации патента: 2406034

Вид документа: C2 
Страна публикации: RU 
Рег. номер заявки: 2008138545/06 
  Сделать заказПолучить полное описание патента

Редакция МПК: 
Основные коды МПК: F23R003/34   F23R003/24    
Аналоги изобретения: US 4896501 A, 30.01.1990. US 6112512 A, 05.09.2000. US 5341640 A, 30.08.1994. DE 1235670 A, 02.03.1967. RU 2004123918 A, 27.01.2006. RU 2003136814 A, 20.05.2005. RU 2035008 C1, 10.05.1995. RU 2116567 C1, 27.07.1998. 

Имя заявителя: СИМЕНС АКЦИЕНГЕЗЕЛЛЬШАФТ (DE) 
Изобретатели: ХЕЙЛОС Андреас (DE)
КРЕБС Вернер (DE)
ВАН КАМПЕН Яп (NL) 
Патентообладатели: СИМЕНС АКЦИЕНГЕЗЕЛЛЬШАФТ (DE) 
Приоритетные данные: 28.02.2006 DE 102006009562.6 

Реферат


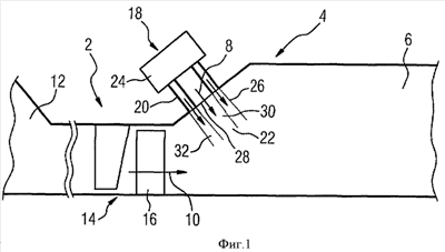
Изобретение относится к газотурбинной горелке. Газотурбинная горелка (4) с зоной сгорания (6) для сжигания смеси из отходящего газа (10) с добавкой газообразного топлива (8) и с устройством подмешивания топлива (18) с топливным соплом (20, 34, 48) для впрыскивания газообразного топлива (8) в отходящий газ (10), причем устройство подмешивания топлива (18) рассчитано на впрыскивание газообразного топлива (8) в отходящий газ (10) с, по меньшей мере, 0,2-кратной скоростью звука. Впрыскиваемая струя (22) из газообразного топлива (8) содержит, по меньшей мере, внутреннюю струю (30) из топливосодержащего газа и окружающую внутреннюю струю (30) внешнюю струю (32) из охлаждающего газа, причем охлаждающий газ имеет более низкую температуру, чем отходящий газ (10). Предусмотрена первичная камера сгорания (12), причем зона сгорания (6) расположена в потоке отходящего газа ниже первичной камеры сгорания (12) и предусмотрено устройство подмешивания топлива (18) для впрыскивания газообразного топлива (8) в отходящий газ (10) из первичной камеры сгорания (12). Устройство подмешивания топлива (18) содержит блок предварительного смешивания (24) для предварительного смешивания газообразного топлива (8) с кислородсодержащим газом или инертным веществом. Градиент среза в краевой области (26) впрыскиваемой струи (22) в области перед выходом сопла (28) лежит выше критического градиента среза для самовоспламенения газообразного топлива (8). Устройство подмешивания топлива (18) рассчитано на впрыскивание в отходящий газ (10) газообразного топлива (8) с давлением, которое, по меньшей мере, на 20% выше, предпочтительно, по меньшей мере, на 50% выше, чем среднее давление во вторичной зоне сгорания (6). Температура охлаждающего газа лежит между 200°С и 600°С. Скорость внешней струи (32) из охлаждающего газа равна скорости внутренней струи (30). Скорость внешней струи (32) из охлаждающего газа является больше, чем скорость внутренней струи (30). Охлаждающий газ содержит топливо. Охлаждающий газ состоит, по меньшей мере, в основном из инертного вещества и/или воздуха. Температура отходящего газа (8) в зоне сгорания (6) лежит между 900°С и 1600°С. Изобретение позволяет снизить выход вредных веществ в атмосферу. 2 н. и 16 з.п. ф-лы, 3 ил.

Дирекция сайта "Промышленная Сибирь"
Россия, г.Омск, ул.Учебная, 199-Б, к.408А
Сайт открыт 01.11.2000
© 2000-2018 Промышленная Сибирь
Разработка дизайна сайта:
Дизайн-студия "RayStudio"