Промышленная Сибирь Ярмарка Сибири Промышленность СФО Электронные торги НОУ-ХАУ Электронные магазины Карта сайта
 
 

Поиск патентов

Как искать?
Реферат
Название
Публикация
Регистрационный номер
Имя заявителя
Имя изобретателя
Имя патентообладателя

    





Оформить заказ и задать интересующие Вас вопросы Вы можете напрямую c 6-00 до 14-30 по московскому времени кроме сб, вс. whatsapp 8-950-950-9888

На данной странице представлена ознакомительная часть выбранного Вами патента

Для получения более подробной информации о патенте (полное описание, формула изобретения и т.д.) Вам необходимо сделать заказ. Нажмите на «Корзину»


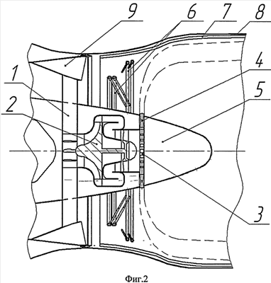
УСТРОЙСТВО И СПОСОБ (ВАРИАНТЫ) ДЛЯ СТАБИЛИЗАЦИИ ПЛАМЕНИ В ФОРСАЖНОЙ КАМЕРЕ ТУРБОРЕАКТИВНОГО ДВИГАТЕЛЯ

Номер публикации патента: 2403422

Вид документа: C1 
Страна публикации: RU 
Рег. номер заявки: 2009107419/06 
  Сделать заказПолучить полное описание патента

Редакция МПК: 
Основные коды МПК: F02K003/10   F23R003/18    
Аналоги изобретения: SU 444466 А, 27.06.2005. SU 472581 А, 10.11.2005. SU 1815496 А1, 15.05.1993. FR 2770284 А1, 30.04.1999. US 5396761 А, 14.03.1995. US 3931707 А, 13.01.1976. 

Имя заявителя: Государственное образовательное учреждение высшего профессионального образования "Уфимский государственный авиационный технический университет" (RU) 
Изобретатели: Кишалов Александр Евгеньевич (RU) 
Патентообладатели: Государственное образовательное учреждение высшего профессионального образования "Уфимский государственный авиационный технический университет" (RU) 

Реферат


Изобретение относится к области авиационного двигателестроения и может быть использовано в форсажной камере турбореактивного двигателя или в форсажной камере турбореактивного двухконтурного двигателя. Устройство для стабилизации пламени в форсажной камере турбореактивного двигателя содержит струйный аэродинамический стабилизатор пламени с топливной форсункой и камерой сгорания с воспламенителем топливовоздушной смеси и дополнительный малоразмерный газотурбинный двигатель, а также патрубки отбора воздуха, устройство отвода выхлопных газов и систему сверхзвуковых сопел. Компрессор малоразмерного газотурбинного двигателя установлен перед топливной форсункой и камерой сгорания с воспламенителем топливовоздушной смеси, а турбина которого расположена за камерой сгорания. Способ стабилизации пламени в форсажной камере турбореактивного двигателя осуществляют с помощью воздушных струй, вдуваемых в газовый поток форсажной камеры через систему сверхзвуковых сопел навстречу под некоторым углом к потоку. Отбор воздуха производят из промежуточной ступени компрессора двигателя. Необходимое для стабилизации пламени давление струи, выходящей из системы сверхзвуковых сопел, получают за счет использования дополнительного малоразмерного газотурбинного двигателя, расположенного в центральном теле форсажной камеры. Способ стабилизации пламени в форсажной камере турбореактивного двигателя с помощью воздушных струй, вдуваемых в газовый поток форсажной камеры через отверстия различной формы навстречу под некоторым углом к потоку, отличающийся по первому варианту тем, что отбор воздуха производят из промежуточной ступени компрессора, при этом необходимое для стабилизации пламени давление струи, выходящей из системы сопел, получают за счет использования дополнительного малоразмерного газотурбинного двигателя, расположенного в центральном теле форсажной камеры. Для турбореактивного двухконтурного двигателя отбор воздуха производят из второго контура. Изобретение направлено на уменьшение потерь полного давления в форсажной камере авиационного двигателя на бесфорсажных режимах, повышение устойчивого горения на форсажных режимах и исключение использования воздуха с высоким давлением из-за компрессора. 3 н.п ф-лы, 2 ил.

Дирекция сайта "Промышленная Сибирь"
Россия, г.Омск, ул.Учебная, 199-Б, к.408А
Сайт открыт 01.11.2000
© 2000-2018 Промышленная Сибирь
Разработка дизайна сайта:
Дизайн-студия "RayStudio"