|
На данной странице представлена ознакомительная часть выбранного Вами патента
Для получения более подробной информации о патенте (полное описание, формула изобретения и т.д.) Вам необходимо сделать заказ. Нажмите на «Корзину»
| КАМЕРА СГОРАНИЯ ГАЗОТУРБИННОГО ДВИГАТЕЛЯ С РЕГУЛИРУЕМЫМ РАСПРЕДЕЛЕНИЕМ ВОЗДУХА |  |
Номер публикации патента: 2163991 |  |
| Редакция МПК: | 7 | | Основные коды МПК: | F23R003/26 | | Аналоги изобретения: | EP 0100135 A1, 08.09.1984. EP 0088933 A1, 21.10.1983. EP 0281961 A1, 14.09.1988. EP 0312620 A1, 26.04.1989. EP 0488766 A1, 03.06.1992. RU 1492862 C1, 10.10.1995. SU 595593 A, 30.03.1978. |
| Имя заявителя: | Акционерное общество открытого типа "Самарский научно-технический комплекс "Двигатели НК" | | Изобретатели: | Постников А.М. Епейкин Л.Ф. Ушканов А.Ф. Денисов И.С. | | Патентообладатели: | Акционерное общество открытого типа "Самарский научно-технический комплекс "Двигатели НК" |
Реферат |  |
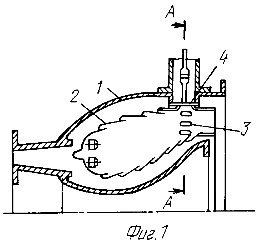
Камера сгорания газотурбинного двигателя с регулируемым распределением воздуха содержит жаровую трубу с окнами в ее стенке, перекрываемыми размещенным в месте расположения окон подвижным элементом. Подвижный элемент выполнен в виде гибкой ленты, охватывающей жаровую трубу и имеющей не менее одного разреза. С системой рычагов с приводом соединены разрезы ленты, и она обеспечивает радиальное перемещение ленты. Такое выполнение камеры сгорания повышает надежность ее работы и обеспечивает требуемое распределение воздуха по длине камеры сгорания. 4 ил.
|