Промышленная Сибирь Ярмарка Сибири Промышленность СФО Электронные торги НОУ-ХАУ Электронные магазины Карта сайта
 
 

Поиск патентов

Как искать?
Реферат
Название
Публикация
Регистрационный номер
Имя заявителя
Имя изобретателя
Имя патентообладателя

    





Оформить заказ и задать интересующие Вас вопросы Вы можете напрямую c 6-00 до 14-30 по московскому времени кроме сб, вс. whatsapp 8-950-950-9888

На данной странице представлена ознакомительная часть выбранного Вами патента

Для получения более подробной информации о патенте (полное описание, формула изобретения и т.д.) Вам необходимо сделать заказ. Нажмите на «Корзину»


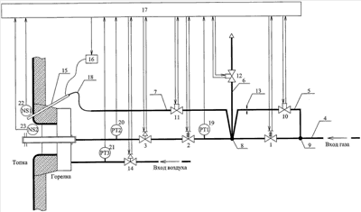
УСТРОЙСТВО АВТОМАТИЧЕСКОГО КОНТРОЛЯ И УПРАВЛЕНИЯ ГАЗОВОЙ ГОРЕЛКОЙ

Номер публикации патента: 2426946

Вид документа: C2 
Страна публикации: RU 
Рег. номер заявки: 2009120798/06 
  Сделать заказПолучить полное описание патента

Редакция МПК: 
Основные коды МПК: F23N001/02    
Аналоги изобретения: RU 2029195 С1, 20.02.1995. SU 1068667 А1, 23.01.1984. RU 71733 U1, 20.03.2008. SU 531963 A1, 15.10.1976. SU 611083 A2, 15.06.1978. 

Имя заявителя: Закрытое акционерное общество производственная компания "Промконтроллер" (RU),
Общество с ограниченной ответственностью "ТеконГазАвтоматика" (RU) 
Изобретатели: Кулинич Михаил Юрьевич (RU)
Полонский Лев Самсонович (RU) 
Патентообладатели: Закрытое акционерное общество производственная компания "Промконтроллер" (RU)
Общество с ограниченной ответственностью "ТеконГазАвтоматика" (RU) 

Реферат


Изобретение относится к области теплоэнергетики и может быть использовано для контроля и регулирования режима горения теплогенерирующих установок. Устройство автоматического контроля и управления газовой горелкой содержит газопровод с последовательно установленными на нем двумя предохранительно-запорными клапанами, обводной трубопровод с установленными на нем клапанами опрессовки и дросселя, которые установлены параллельно первому предохранительно-запорному клапану, при этом трубопровод запальника с запальным клапаном и отводной трубопровод с клапаном безопасности имеют общую точку соединения с газопроводом и обводным трубопроводом, на газопроводе после второго предохранительно-запорного клапана установлена дроссельная заслонка, на выходе запального трубопровода через гибкий шланг подключен запальник с искроразрядником, а также введены воздушный шибер и узел управления, выводы которого соединены с управляющими входами и информационными выходами всех клапанов, дроссельной заслонки и шибера, с входом искроразрядника запальника, датчики давления газа в газопроводе и на входе сопла горелки, давления воздуха, наличия факела запальника и факела горелки. Техническим результатом является исключение возможности образования «микровзрыва» при автоматическом розжиге горелки и обеспечение автоматического регулирования ее тепловой мощности в рабочем диапазоне при постоянном поддержании минимального содержания вредных веществ в дымовых газах. 1 ил.

Дирекция сайта "Промышленная Сибирь"
Россия, г.Омск, ул.Учебная, 199-Б, к.408А
Сайт открыт 01.11.2000
© 2000-2018 Промышленная Сибирь
Разработка дизайна сайта:
Дизайн-студия "RayStudio"