|
На данной странице представлена ознакомительная часть выбранного Вами патента
Для получения более подробной информации о патенте (полное описание, формула изобретения и т.д.) Вам необходимо сделать заказ. Нажмите на «Корзину»
| ПЫЛЕСИСТЕМА |  |
Номер публикации патента: 2181182 |  |
| Редакция МПК: | 7 | | Основные коды МПК: | F23K001/00 | | Аналоги изобретения: | RU 2088851 C1, 27.08.1997. RU 2092740 C1, 10.10.1997. RU 2072479 C1, 27.01.1997. FR 2466708 A1, 10.04.1981. DE-OS 3105628 A, 26.08.1982. DE-OS 3107649 A1, 11.11.1982. |
| Имя заявителя: | Красноярский государственный технический университет | | Изобретатели: | Дубровский В.А. Деринг И.С. Евтихов Ж.Л. | | Патентообладатели: | Красноярский государственный технический университет |
Реферат |  |
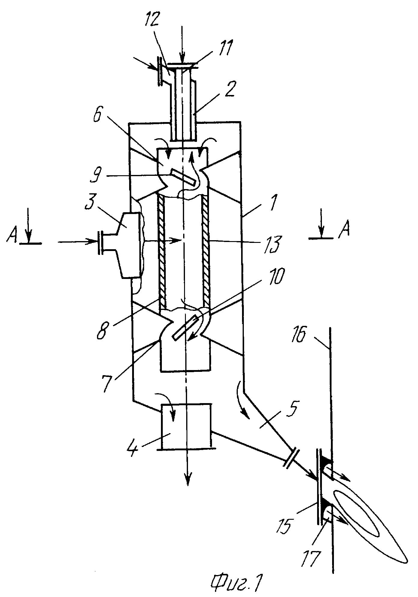
Изобретение может быть использовано на тепловых электрических станциях. Пылесистема содержит узел термоподготовки топлива в виде пылеконцентратора с полой вставкой 8, разогреваемой перед работой с помощью мазутной форсунки 11, которая затем отключается. Пыль вращается в корпусе пылеконцентратора до тех пор, пока не измельчится и не прококсуется. Выходу пыли препятствуют реверсивные лопаточные завихрители 6 и 7 и плоские пластины 13, из которых набрана полая вставка 8. Пластины установлены спутно потоку и имеют между пластинами продольные щели, в которые из угольной пыли в зону горения поступают горючие газы. Обладая тепловой инерцией, пластины 13 обеспечивают воспламенение вновь поступающей пыли и ее термоподготовку путем радиационной составляющей через просветы щелей. Устройство позволяет использовать минимум дополнительного топлива для растопки котла и стабильное воспламенение во время работы при падении нагрузки, так как внутри полой вставки 8 всегда происходит выгорание горючих газов из топлива. 2 ил.
|