Промышленная Сибирь Ярмарка Сибири Промышленность СФО Электронные торги НОУ-ХАУ Электронные магазины Карта сайта
 
 

Поиск патентов

Как искать?
Реферат
Название
Публикация
Регистрационный номер
Имя заявителя
Имя изобретателя
Имя патентообладателя

    





Оформить заказ и задать интересующие Вас вопросы Вы можете напрямую c 6-00 до 14-30 по московскому времени кроме сб, вс. whatsapp 8-950-950-9888

На данной странице представлена ознакомительная часть выбранного Вами патента

Для получения более подробной информации о патенте (полное описание, формула изобретения и т.д.) Вам необходимо сделать заказ. Нажмите на «Корзину»


СПОСОБ ПЕРЕРАБОТКИ БЫТОВЫХ ОТХОДОВ С ИСПОЛЬЗОВАНИЕМ ПИРОЛИЗНОГО РЕАКТОРА, СИСТЕМА ДЛЯ ЕГО ОСУЩЕСТВЛЕНИЯ И ПИРОЛИЗНЫЙ РЕАКТОР

Номер публикации патента: 2380615

Вид документа: C1 
Страна публикации: RU 
Рег. номер заявки: 2008139002/03 
  Сделать заказПолучить полное описание патента

Редакция МПК: 
Основные коды МПК: F23G005/02   F23G005/12    
Аналоги изобретения: RU 2269415 С2, 10.10.2005. RU 2137981 C1, 20.09.1999. RU 2139187 C1, 10.10.1999. SU 1836406 A3, 23.08.1993. US 2002/0195031 A1, 26.12.2002. US 4759300 A, 26.07.1988. US 4821653 A, 18.04.1989. EP 0443596 B2, 20.09.1993. 

Имя заявителя: ГринЛайтс Энерджи Солюшнс, Общество с ограниченной ответственностью (US) 
Изобретатели: ФИРЕР Аркади Михаель (US)
ЗАГОРСКИЙ Денис Алексеевич (RU) 
Патентообладатели: ГринЛайтс Энерджи Солюшнс, Общество с ограниченной ответственностью (US) 

Реферат


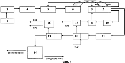
Изобретение относится к области машиностроения и может быть использовано при создании систем и устройств для осуществления способов переработки бытовых отходов с использованием пиролизных реакторов с получением синтетических газов из органических бытовых отходов для дальнейшего их использования. Бытовые отходы сортируют в устройстве сортировки. На этапе сортировки из бытовых отходов удаляют отходы, обладающие низким энергетическим потенциалом. Подготовленную смесь бытовых отходов подают в устройство измельчения и далее перемещают в устройство для высушивания и в накопительное устройство с последующей подачей смеси в пиролизный реактор. Процесс пиролиза проходит в реакторе с получением из смеси отходов синтез-газа и смеси коксующихся углеродных остатков. Одновременно с процессом пиролиза отводят тепло или дымовые газы. Полученный в процессе пиролиза синтез-газ из пиролизного реактора подают в устройство сухой очистки с пылеуловителем, где снижают уровень пыли в синтез-газе. Очищенный от пыли синтез-газ подают в систему влажного газоочистителя, в котором синтез-газ очищают от смол и примесей и подают во флотатор, из которого обезвоженные примеси через центрифугу перемещают далее в топку пиролизного реактора, где обезвоженные смолы и примеси сжигают вместе со смесью коксующихся углеродных остатков. Очищенный от смол и примесей синтез-газ подают в абсорбер, в котором выделяют из синтез-газа насыщенный углекислым газом водный раствор, подаваемый в десорбер с последующим разделением насыщенного раствора в десорбере на углекислый газ и техническую воду. Очищенный от примесей синтез-газ подают в генератор для получения электроэнергии, используемой в дальнейшем в линиях электропередач, а тепло, отходящее от генератора, преобразуют в тепловую энергию для использования и/или преобразования. Технический результат: упрощение конструкции системы и собственно пиролизного реактора, повышение их надежности, повышение эффективности способа переработки бытовых отходов, обеспечение максимальной безотходности процесса пиролиза бытовых отходов. 3 н. и 19 з.п. ф-лы, 4 ил., 2 табл.

Дирекция сайта "Промышленная Сибирь"
Россия, г.Омск, ул.Учебная, 199-Б, к.408А
Сайт открыт 01.11.2000
© 2000-2018 Промышленная Сибирь
Разработка дизайна сайта:
Дизайн-студия "RayStudio"