Промышленная Сибирь Ярмарка Сибири Промышленность СФО Электронные торги НОУ-ХАУ Электронные магазины Карта сайта
 
 

Поиск патентов

Как искать?
Реферат
Название
Публикация
Регистрационный номер
Имя заявителя
Имя изобретателя
Имя патентообладателя

    





Оформить заказ и задать интересующие Вас вопросы Вы можете напрямую c 6-00 до 14-30 по московскому времени кроме сб, вс. whatsapp 8-950-950-9888

На данной странице представлена ознакомительная часть выбранного Вами патента

Для получения более подробной информации о патенте (полное описание, формула изобретения и т.д.) Вам необходимо сделать заказ. Нажмите на «Корзину»


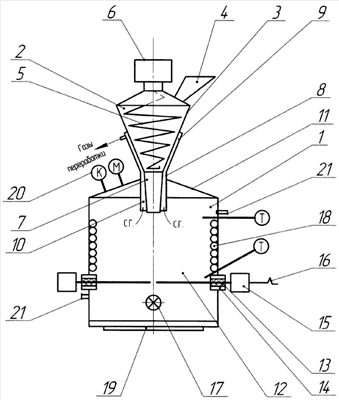
РЕАКТОР ДЛЯ ТЕРМИЧЕСКОЙ ПЕРЕРАБОТКИ ОРГАНИЧЕСКИХ ОТХОДОВ

Номер публикации патента: 2375636

Вид документа: C1 
Страна публикации: RU 
Рег. номер заявки: 2008121431/03 
  Сделать заказПолучить полное описание патента

Редакция МПК: 
Основные коды МПК: F23G005/44    
Аналоги изобретения: RU 2131556 C1, 10.06.1999. RU 2309007 C2, 27.10.2007. SU 1242510 A1, 07.07.1986. SU 9435 A, 31.05.1929. UA 75555 C2, 15.04.2006. US 5466108 A, 14.11.1995. 

Имя заявителя: ГОСУДАРСТВЕННОЕ ОБРАЗОВАТЕЛЬНОЕ УЧРЕЖДЕНИЕ ВЫСШЕГО ПРОФЕССИОНАЛЬНОГО ОБРАЗОВАНИЯ Воронежская государственная технологическая академия (RU) 
Изобретатели: Шаповалов Юрий Николаевич (RU)
Ульянов Андрей Николаевич (RU)
Комаров Владимир Петрович (RU)
Куфа Эмма Николаевна (RU)
Гусаров Олег Николаевич (RU)
Панов Сергей Юрьевич (RU) 
Патентообладатели: ГОСУДАРСТВЕННОЕ ОБРАЗОВАТЕЛЬНОЕ УЧРЕЖДЕНИЕ ВЫСШЕГО ПРОФЕССИОНАЛЬНОГО ОБРАЗОВАНИЯ Воронежская государственная технологическая академия (RU) 

Реферат


Изобретение относится к устройствам для высокотемпературной переработки органических отходов в экологически безопасных условиях и может быть использовано в нефтехимической и химической промышленности, в жилищно-коммунальном хозяйстве, в переработке отходов тары и упаковки. Технический результат: обеспечение непрерывности работы установки и предварительных подсушки и подогрева исходного сырья за счет теплоты газов переработки. Реактор выполнен в виде корпуса, включающего загрузочную воронку, источник тепла в виде электродов, оснащенных механизмами их подачи в реактор, разгрузочное устройство, теплообменник с парогенератором, активатор, измерительные приборы. Реактор снабжен загрузочным устройством, содержащим питатель в составе конического корпуса с воронкой и размещенного в нем конического компрессионного шнека с приводом, конический канал, соединенный своим большим отверстием с выходным отверстием корпуса питателя, а меньшим - с загрузочным патрубком реактора. Питатель и конический канал снабжены теплообменной с выходным патрубком рубашкой, полость которой сообщена с внутренней полостью реактора посредством кольцевого канала, образованного данным патрубком и коническим каналом загрузочного устройства. 1 ил.

Дирекция сайта "Промышленная Сибирь"
Россия, г.Омск, ул.Учебная, 199-Б, к.408А
Сайт открыт 01.11.2000
© 2000-2018 Промышленная Сибирь
Разработка дизайна сайта:
Дизайн-студия "RayStudio"