Промышленная Сибирь Ярмарка Сибири Промышленность СФО Электронные торги НОУ-ХАУ Электронные магазины Карта сайта
 
 

Поиск патентов

Как искать?
Реферат
Название
Публикация
Регистрационный номер
Имя заявителя
Имя изобретателя
Имя патентообладателя

    





Оформить заказ и задать интересующие Вас вопросы Вы можете напрямую c 6-00 до 14-30 по московскому времени кроме сб, вс. whatsapp 8-950-950-9888

На данной странице представлена ознакомительная часть выбранного Вами патента

Для получения более подробной информации о патенте (полное описание, формула изобретения и т.д.) Вам необходимо сделать заказ. Нажмите на «Корзину»


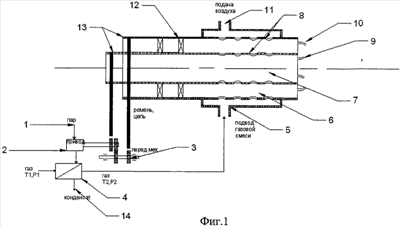
ГАЗОВАЯ ГОРЕЛКА

Номер публикации патента: 2471118

Вид документа: C1 
Страна публикации: RU 
Рег. номер заявки: 2011133209/06 
  Сделать заказПолучить полное описание патента

Редакция МПК: 
Основные коды МПК: F23D014/66   F23D014/02    
Аналоги изобретения: SU 1315728 A1, 07.06.1987. RU 2145039 C1, 27.01.2000. RU 2115064 C1, 10.07.1998. EP 0000797051 B1, 12.02.2003. 

Имя заявителя: Государственное образовательное учреждение высшего профессионального образования "Оренбургский государственный университет" (RU) 
Изобретатели: Соколов Виталий Юрьевич (RU)
Наумов Сергей Александрович (RU)
Садчиков Алексей Викторович (RU)
Горячев Сергей Вениаминович (RU)
Лаврентьев Антон Владимирович (RU)
Коробков Анатолий Игоревич (RU) 
Патентообладатели: Государственное образовательное учреждение высшего профессионального образования "Оренбургский государственный университет" (RU) 

Реферат


Изобретение относится к теплоэнергетике и может быть использовано в котельных, ТЭЦ. Газовая горелка содержит корпус, внутри которого установлены центральный и периферийный газоподводящие каналы, каждый из которых на выходе оснащен группой сопел, пластинчатый теплообменник, соединенный с корпусом газовым трубопроводом, причем центральный и периферийный газоподводящие каналы установлены с возможностью вращения навстречу друг другу, центральный и периферийный газовые каналы имеют перфорацию. Технический результат - повышение полноты сгорания топлива. 2 ил.

Дирекция сайта "Промышленная Сибирь"
Россия, г.Омск, ул.Учебная, 199-Б, к.408А
Сайт открыт 01.11.2000
© 2000-2018 Промышленная Сибирь
Разработка дизайна сайта:
Дизайн-студия "RayStudio"