Промышленная Сибирь Ярмарка Сибири Промышленность СФО Электронные торги НОУ-ХАУ Электронные магазины Карта сайта
 
 

Поиск патентов

Как искать?
Реферат
Название
Публикация
Регистрационный номер
Имя заявителя
Имя изобретателя
Имя патентообладателя

    





Оформить заказ и задать интересующие Вас вопросы Вы можете напрямую c 6-00 до 14-30 по московскому времени кроме сб, вс. whatsapp 8-950-950-9888

На данной странице представлена ознакомительная часть выбранного Вами патента

Для получения более подробной информации о патенте (полное описание, формула изобретения и т.д.) Вам необходимо сделать заказ. Нажмите на «Корзину»


СПОСОБ НЕПРЕРЫВНОГО КОНДИЦИОНИРОВАНИЯ ГАЗА, ПРЕДПОЧТИТЕЛЬНО ПРИРОДНОГО ГАЗА

Номер публикации патента: 2470225

Вид документа: C2 
Страна публикации: RU 
Рег. номер заявки: 2011103900/06 
  Сделать заказПолучить полное описание патента

Редакция МПК: 
Основные коды МПК: F23C099/00   F23D014/66   B01D053/14   F23K005/00    
Аналоги изобретения: ЕР 0920578 A1, 09.06.1999. ЕР 0529474 А2, 03.03.1993. ЕР 0635673 A1, 25.01.1995. RU 67236 U1, 10.10.2007. SU 274089 A1, 24.06.1970. 

Имя заявителя: ЭВЕ ЭНЕРГИ АГ (DE) 
Изобретатели: ЛЕНК Андреас (DE) 
Патентообладатели: ЭВЕ ЭНЕРГИ АГ (DE) 
Приоритетные данные: 04.08.2008 DE 102008036243.3 

Реферат


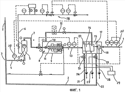
Изобретение относится к способу непрерывного кондиционирования газа. Способ непрерывного кондиционирования газа, предпочтительно природного газа, перед его закачкой в трубопровод, в частности, в сетевой трубопровод, предназначенный для поставки потребителям, в котором газ, находящийся под давлением, отбирают из хранилища, расширяют и до или после расширения подогревают до определенной температуры, причем отводимый частичный поток поступающего из хранилища газа смешивают с кислородом и образованный таким образом горючий газ каталитически сжигают и за счет отходящей при этом тепловой энергии подогревают поступающий из хранилища газ. Из выделенного при каталитическом сгорании потока горячих отходящих газов отделяют частичный поток отходящих газов и вместе с холодным горючим газом направляют в первый аппарат (8), и горючий газ в первом аппарате (8) смешивают с подведенным частичным потоком отходящих газов и при этом подогревают, и подогретую таким образом смесь отходящих газов и горючего газа из первого аппарата (8) отводят во второй аппарат (15), в котором его подвергают каталитическому сжиганию, теплотой которого нагревают соответственно до желательной температуры поступающий их хранилища и кондиционируемый природный газ. Поступающий из хранилища природный газ расширяют непосредственно перед его закачкой во второй аппарат (15). Расширенный природный газ делят на частичные потоки, из которых, по меньшей мере, один частичный поток прокачивают вокруг реактора (14) второго аппарата (15) и, по меньшей мере, другой частичный поток подают в смесительную камеру (17) второго аппарата (15), причем в смесительную камеру (17) подают одновременно отходящий из реактора (14) частичный поток нагретого природного газа. Покидающий смесительную камеру (17) газовый поток направляется посредством сепаратора (18). Для поддержки отделения конденсата в газовый поток закачивают абсорбент для связывания водяного пара, например триэтиленгликоль. Изобретение позволяет обеспечить безопасный режим кондиционирования. 8 з.п. ф-лы, 1 ил.

Дирекция сайта "Промышленная Сибирь"
Россия, г.Омск, ул.Учебная, 199-Б, к.408А
Сайт открыт 01.11.2000
© 2000-2018 Промышленная Сибирь
Разработка дизайна сайта:
Дизайн-студия "RayStudio"