Промышленная Сибирь Ярмарка Сибири Промышленность СФО Электронные торги НОУ-ХАУ Электронные магазины Карта сайта
 
 

Поиск патентов

Как искать?
Реферат
Название
Публикация
Регистрационный номер
Имя заявителя
Имя изобретателя
Имя патентообладателя

    





Оформить заказ и задать интересующие Вас вопросы Вы можете напрямую c 6-00 до 14-30 по московскому времени кроме сб, вс. whatsapp 8-950-950-9888

На данной странице представлена ознакомительная часть выбранного Вами патента

Для получения более подробной информации о патенте (полное описание, формула изобретения и т.д.) Вам необходимо сделать заказ. Нажмите на «Корзину»


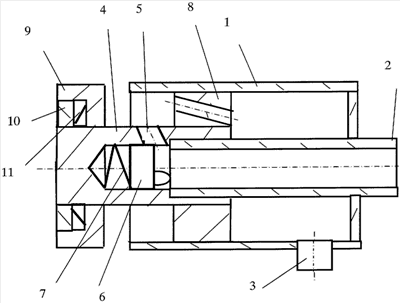
ФОРСУНКА

Номер публикации патента: 2396487

Вид документа: C1 
Страна публикации: RU 
Рег. номер заявки: 2009112230/06 
  Сделать заказПолучить полное описание патента

Редакция МПК: 
Основные коды МПК: F23D011/10   F23D011/36    
Аналоги изобретения: ХЗМАЛЯН Д.М. и КАГАН Я.А. Теория горения и топочные устройства. - М.: Энергия, 1976, с.196, р.11-7. SU 1820151 A1, 07.06.1993. SU 1218249 А, 15.03.1986. SU 1607521 A1, 27.11.2001. SU 1574993, 30.06.1990. US 3785570 A, 15.01.1974. GB 2211594 A, 05.07.1989. 

Имя заявителя: Государственное образовательное учреждение высшего профессионального образования "Казанский государственный энергетический университет" (КГЭУ) (RU) 
Изобретатели: Таймаров Михаил Александрович (RU)
Таймаров Валерий Михайлович (RU) 
Патентообладатели: Государственное образовательное учреждение высшего профессионального образования "Казанский государственный энергетический университет" (КГЭУ) (RU) 

Реферат


Изобретение относится к области энергетики и может быть использовано для сжигания органических жидких топлив и нефтесодержащих отходов в промышленных печах и топках котлов. Форсунка состоит из корпуса со штуцерами подвода топлива и распылителя, сопла в виде перевернутого стакана с радиальными боковыми отверстиями, расположенными у торца штуцера, угол наклона которых к вертикали равен 30°. В полости стакана, для саморегулирования проходного сечения отверстий, размещен плунжер с тарированной пружиной. С одной стороны у торца сопла между наружной поверхностью сопла и внутренней поверхностью корпуса установлена шайба, образуя полость для распылителя, которая имеет отверстия с углом наклона 30° к горизонтали, расположенные попарно с отверстиями сопла, а с противоположной стороны сопла смонтирован с возможностью перемещения вдоль оси распыливающий насадок, зафиксированный стопорной гайкой с тарированной мембраной, образуя с корпусом щелевое круговое отверстие. Такая форсунка позволяет исключить наброс пламени на противоположенную стенку, засорение топливных отверстий пластичными включениями и закоксовывание отверстий насадка при увеличении скорости выгорания при сжигании нефтеотходов. 1 ил.

Дирекция сайта "Промышленная Сибирь"
Россия, г.Омск, ул.Учебная, 199-Б, к.408А
Сайт открыт 01.11.2000
© 2000-2018 Промышленная Сибирь
Разработка дизайна сайта:
Дизайн-студия "RayStudio"