Промышленная Сибирь Ярмарка Сибири Промышленность СФО Электронные торги НОУ-ХАУ Электронные магазины Карта сайта
 
 

Поиск патентов

Как искать?
Реферат
Название
Публикация
Регистрационный номер
Имя заявителя
Имя изобретателя
Имя патентообладателя

    





Оформить заказ и задать интересующие Вас вопросы Вы можете напрямую c 6-00 до 14-30 по московскому времени кроме сб, вс. whatsapp 8-950-950-9888

На данной странице представлена ознакомительная часть выбранного Вами патента

Для получения более подробной информации о патенте (полное описание, формула изобретения и т.д.) Вам необходимо сделать заказ. Нажмите на «Корзину»


ГОРЕЛКА

Номер публикации патента: 2421661

Вид документа: C1 
Страна публикации: RU 
Рег. номер заявки: 2010113749/06 
  Сделать заказПолучить полное описание патента

Редакция МПК: 
Основные коды МПК: F23D017/00    
Аналоги изобретения: RU 2137043 С1, 10.09.1999. RU 2013699 С1, 30.05.1994. SU 1525404 А1, 30.11.1989. СН 622081 А5, 13.03.1981. ЕР 0143510 А1, 07.08.1984. DE 3327397 А1, 07.02.1985. 

Имя заявителя: Соболев Виктор Михайлович (RU) 
Изобретатели: Соболев Виктор Михайлович (RU) 
Патентообладатели: Соболев Виктор Михайлович (RU) 

Реферат


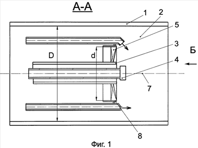
Изобретение относится к энергетике, может быть использовано для сжигания газа в топочных устройствах различного назначения и позволяет снизить содержание оксидов азота в продуктах сгорания с одновременным повышением качества сжигания газа и эксплуатационной надежности. Указанный технический результат достигается в горелке, содержащей трубчатый корпус 1, внутри которого находится воздушный канал 2, в котором соосно с его продольной осью расположен центральный трубчатый элемент 3, на выходе из которого размещена топливная форсунка 4, по периферии центрального трубчатого элемента 3 расположены направляющие лопатки 5 аксиального завихрителя, вокруг аксиального завихрителя в воздушном канале 2 установлены трубки для подачи газа, по меньшей мере, двумя потоками, один из которых направлен вдоль продольной оси 7 симметрии воздушного канала 2, а другие - под углом к указанной оси 7, между центральным трубчатым элементом 3 и трубками для подачи газа соосно продольной оси 7 воздушного канала 2 установлен трубчатый направляющий элемент 8, направляющие лопатки 5 аксиального завихрителя установлены внутри трубчатого направляющего элемента 8 на его выходе до выходных отверстий трубок для подачи газа, при этом отношение квадрата эквивалентного диаметра D воздушного канала к квадрату эквивалентного диаметра d трубчатого направляющего элемента 8 D2/d2 находится в пределах 1,65-10. 4 ил.

Дирекция сайта "Промышленная Сибирь"
Россия, г.Омск, ул.Учебная, 199-Б, к.408А
Сайт открыт 01.11.2000
© 2000-2018 Промышленная Сибирь
Разработка дизайна сайта:
Дизайн-студия "RayStudio"