Промышленная Сибирь Ярмарка Сибири Промышленность СФО Электронные торги НОУ-ХАУ Электронные магазины Карта сайта
 
 

Поиск патентов

Как искать?
Реферат
Название
Публикация
Регистрационный номер
Имя заявителя
Имя изобретателя
Имя патентообладателя

    





Оформить заказ и задать интересующие Вас вопросы Вы можете напрямую c 6-00 до 14-30 по московскому времени кроме сб, вс. whatsapp 8-950-950-9888

На данной странице представлена ознакомительная часть выбранного Вами патента

Для получения более подробной информации о патенте (полное описание, формула изобретения и т.д.) Вам необходимо сделать заказ. Нажмите на «Корзину»


КАТАЛИТИЧЕСКИЙ ТЕПЛОГЕНЕРАТОР

Номер публикации патента: 2380612

Вид документа: C1 
Страна публикации: RU 
Рег. номер заявки: 2009102307/06 
  Сделать заказПолучить полное описание патента

Редакция МПК: 
Основные коды МПК: F23C013/04    
Аналоги изобретения: ЕР 1353124 А1, 15.10.2003. JP 2001193905 А, 17.07.2001. JP 56162307 А, 14.12.1981. ЕР 0889287 А2, 07.01.1999. RU 2037099 С1, 09.06.1995. RU 2209378 С2, 27.07.2003. JP 7293833 А, 10.11.1995. 

Имя заявителя: Государственное образовательное учреждение высшего профессионального образования "Саратовский государственный университет им. Н.Г. Чернышевского" (RU),
Общество с ограниченной ответственностью "Каталитический Таплогенератор" (RU) 
Изобретатели: Кузьмина Раиса Ивановна (RU)
Попов Павел Николаевич (RU) 
Патентообладатели: Государственное образовательное учреждение высшего профессионального образования "Саратовский государственный университет им. Н.Г. Чернышевского" (RU)
Общество с ограниченной ответственностью "Каталитический Таплогенератор" (RU) 

Реферат


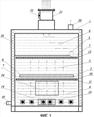
Изобретение относится к теплоэнергетике - к технике генерирования тепловой энергии на принципе беспламенного каталитического окисления различных видов топлив и может быть использовано в промышленности, сельском хозяйстве, жилищно-коммунальном хозяйстве, на транспорте и других областях для автономного водяного отопления воздушного обогрева, а также горячего водоснабжения жилых и производственных помещений, зданий и сооружений: гаражей, теплиц, хранилищ, ферм, дачных домиков и т.д. Каталитический теплогенератор содержит вертикально ориентированный корпус с входом для подачи топлива и выходом для отработанных газов, включающий, по крайней мере, три камеры: камеру горения в нижней части корпуса и расположенные над ней две камеры дожига, при этом камеры образованы горизонтально ориентированными перегородками, имеющими зазоры для прохода продуктов горения; решетку с неподвижным слоем катализатора, размещенную в верхней части камеры горения, при этом катализатор представляет собой термостойкий пористый носитель с нанесенными на него оксидом никеля и оксидом меди, при следующем соотношении компонентов, мас.%: оксид меди - 1,0-3,0; оксид никеля - 1,0-2,5; носитель - остальное; блок регулированной подачи воздуха, расположенный в нижней части камеры горения; канал подачи вторичного воздуха в камеру дожига; теплообменный блок. Задача, решаемая настоящим изобретением, состоит в разработке каталитического теплогенератора, эффективно использующего тепло при сжигании различного вида топлива любой влажности, обеспечивающего экологическую чистоту отходящих газов и позволяющего регулировать его тепловую мощность. 5 з.п. ф-лы, 3 табл., 6 ил.

Дирекция сайта "Промышленная Сибирь"
Россия, г.Омск, ул.Учебная, 199-Б, к.408А
Сайт открыт 01.11.2000
© 2000-2018 Промышленная Сибирь
Разработка дизайна сайта:
Дизайн-студия "RayStudio"